【普及参考事項】
|
駒ヶ岳火山灰地における畑地かんがい試験 道立中央農業試験場 |
〔Ⅰ〕試験目的
駒ヶ岳火山灰地に於ける常災旱魃対策の一環として、畑地灌漑が作物の生育、収量並びに施肥、土壌条件に及ぼす影響について調査し、灌漑技術の導入による凍害地帯の耕種肥培法確立の資料を得んとする。
〔Ⅱ〕試験地概要
試験地-茅部群森町字森川(火山性土)
土壌断面
| 層序 | 層厚(㎝) | 土性 | 土色 | 性 状 |
| 1 | 0~12㎝ | v H S |
暗黄褐 | 駒ヶ岳d火山灰。脆弱な粉塊状構造を呈し、粘性なく、堆積は膨軟 |
| 2 | 12~25 | v G S |
黄褐 | |
| 3 | 25 | ○ G S |
灰白 | 駒ヶ岳d火山灰。単粒構造、粘性なく、堆積は堅密。浮石轢を含み未風化 |
試験地土壌の理化学性
| 層序 | 層厚(㎝) | 容積重 | 粘土(%) | PH | 窒素 (%) |
腐植 (%) |
置換容量 (mL) |
吸収係数 | ||
| H2O | KCL | N | P2O5 | |||||||
| 1 | 0~12 | 1.45 | 4.5 | 6.30 | 5.25 | 0.14 | 1.84 | 7.37 | 214 | 914 |
| 2 | 12~25 | 1.44 | 3.0 | 6.50 | 5.60 | 0.11 | 0.96 | 3.85 | 141 | 610 |
| 3 | 25~ | 1.34 | 1.0 | 6.54 | 5.75 | 0.05 | 0.24 | 0.65 | 79 | 400 |
本地帯は駒ヶ岳d火山灰の被覆せる火山性土に属し、保水力並びに保肥力の大小と密接な関係を持つ粘土及び腐植含量が極めて少ない瘠薄な土壌である。
〔Ⅲ〕気象概況
気温、除水量、日照時数
| 項目/年次(昭和) | 平均気温 (℃) | 降水量 (mm) | 日照時数 (h) | |||||||||||||
| 月別/旬別 | 36 | 37 | 38 | 39 | 平均 | 36 | 37 | 38 | 39 | 平均 | 36 | 37 | 38 | 39 | 平均 | |
| 5月 | 上 | 9.6 | 10.8 | 9.7 | 10.6 | 9.3 | 24.7 | 7.2 | 13.8 | 47.4 | 20.8 | 55.7 | 88.6 | 102.8 | 66.4 | 76.6 |
| 中 | 10.5 | 11.8 | 11.3 | 11.8 | 10.3 | 40.6 | 18.8 | 54.5 | 11.9 | 23.0 | 62.9 | 73.2 | 81.4 | 105.2 | 69.6 | |
| 下 | 13.8 | 13.9 | 14.4 | 11.2 | 11.5 | 43.4 | 11.9 | 64.9 | 14.3 | 28.4 | 82.6 | 74.3 | 101.5 | 42.5 | 71.4 | |
| 6月 | 上 | 14.6 | 13.8 | 11.6 | 13.2 | 13.0 | 30.4 | 29.5 | 35.6 | 33.3 | 27.5 | 88.8 | 43.5 | 63.5 | 41.4 | 62.7 |
| 中 | 15.0 | 16.2 | 15.0 | 14.3 | 14.4 | 9.5 | 10.9 | 61.0 | 16.0 | 24.5 | 83.5 | 83.1 | 76.8 | 75.3 | 61.8 | |
| 下 | 15.9 | 15.0 | 17.4 | 17.7 | 16.0 | 22.1 | 3.4 | 45.6 | 25.0 | 28.0 | 22.9 | 82.4 | 54.5 | 77.4 | 59.2 | |
| 7月 | 上 | 18.3 | 18.8 | 17.4 | 17.7 | 17.5 | 71.3 | 10.4 | 27.1 | 50.2 | 33.6 | 61.3 | 2.1 | 44.9 | 49.7 | 53.4 |
| 中 | 18.7 | 20.3 | 16.78 | 16.3 | 19.2 | 26.6 | 52.5 | 82.2 | 74.5 | 35.4 | 55.0 | 29.7 | 24.8 | 38.2 | 52.5 | |
| 下 | 21.8 | 20.9 | 22.4 | 20.4 | 20.8 | 123.2 | 36.7 | 76.2 | 6.4 | 35.3 | 47.9 | 33.9 | 54.3 | 69.4 | 61.2 | |
| 8月 | 上 | 21.7 | 21.1 | 22.6 | 20.8 | 21.6 | 11.5 | 174.4 | 0.7 | 71.4 | 32.1 | 48.5 | 29.9 | 54.3 | 45.5 | 58.8 |
| 中 | 23.3 | 22.3 | 21.8 | 23.1 | 21.8 | 8.1 | 44.1 | 17.6 | 14.1 | 47.7 | 62.4 | 63.1 | 34.6 | 28.9 | 60.6 | |
| 下 | 20.7 | 20.0 | 21.0 | 19.9 | 21.0 | 22.0 | 70.9 | 28.6 | 32.1 | 44.7 | 55.3 | 19.5 | 60.6 | 17.9 | 65.2 | |
| 9月 | 上 | 21.8 | 19.6 | 18.9 | 18.3 | 19.2 | 175.8 | 80.2 | 21.1 | 14.5 | 40.3 | 61.9 | 26.2 | 93.6 | 47.6 | 61.3 |
| 中 | 18.6 | 19.0 | 15.6 | 16.7 | 17.5 | 22.9 | 59.7 | 19.7 | 71.8 | 46.9 | 58.9 | 41.6 | 68.5 | 70.6 | 60.7 | |
| 下 | 18.2 | 14.5 | 14.7 | 13.3 | 15.2 | 47.5 | 43.7 | 17.9 | 15.5 | 49.2 | 64.4 | 54.5 | 62.0 | 65.1 | 59.5 | |
累年平均月別降水量(mm)
| 場所/月別 | 1 | 2 | 3 | 4 | 5 | 6 | 7 | 8 | 9 | 10 | 11 | 12 | 計 |
| 森 | 74.7 | 59.9 | 80.2 | 76.5 | 72.2 | 80.0 | 104.3 | 124.5 | 136.4 | 104.1 | 84.6 | 76.4 | 1,073.5 |
| 札幌 | 108.4 | 78.6 | 67.5 | 64.2 | 59.6 | 68.2 | 97.6 | 111.0 | 142.8 | 112.3 | 110.2 | 106.1 | 1,126.5 |
駒ヶ岳火山灰地に於ける降水量は累年平均1,100mm程度であり、畑作物の生育期間中(5月~9月)の降水量は520mmで年降水量の48%を占め、畑作物の必要水量としてやや不足している。
連続旱天日数の回数
| 月別 | 日数/年度(昭和) | 30年 | 31年 | 32年 | 33年 | 34年 | 35年 | 36年 | 37年 | 38年 | 39年 | 10ヶ年計 |
| 5月 | 7~9日 | 1 | 2 | 1 | 1 | 1 | 1 | 1 | 1 | 10 | ||
| 10日以上 | 1 | 1 | 2 | |||||||||
| 6月 | 7~9日 | 2 | 1 | 2 | 1 | 1 | 1 | 8 | ||||
| 10日以上 | 1 | 1 | 1 | 3 | ||||||||
| 7月 | 7~9日 | 2 | 1 | 1 | 1 | 1 | 1 | 2 | 1 | 10 | ||
| 10日以上 | 1 | 1 | 1 | 1 | 4 | |||||||
| 8月 | 7~9日 | 1 | 3 | 2 | 1 | 7 | ||||||
| 10日以上 | 1 | 1 | 1 | 1 | 1 | 5 | ||||||
| 9月 | 7~9日 | 1 | 2 | 11 | 1 | 5 | ||||||
| 10日以上 | 1 | 1 | ||||||||||
| 計 | 7~9日 | 6 | 3 | 5 | 4 | 6 | 4 | 4 | 3 | 1 | 4 | 40 |
| 10日以上 | 1 | 3 | 2 | 3 | 1 | 1 | 1 | 1 | 1 | 1 | 15 |
7日以上の連続無降水で植生に影響を与える程度の旱天は年平均(5月~9月)5~6回程度認められ、特に5月、7月、8月に多く現れている。
降雨量のみから言えば著しく不足と言えないが、保水性の極めて小さい土壌のため連続旱天時に対する抵抗性が極めて弱い。
〔Ⅳ〕試験の種類
A)土壌水分に関する調査 昭和36~37年
B)灌漑と三要素との関係 昭和36年
C)灌漑と施肥法との関係 昭和37~38年
D)灌漑時期と灌水量について 昭和38~39年
E)灌漑による土壌理化学性の変化 昭和36年(収穫後)
F)灌漑栽培の大豆の施肥法について 昭和38~39年
G)消費水量と三要素の溶脱について 昭和38~39年
〔Ⅴ〕試験成績
畑地灌漑の必要性は
①連続旱天の発生状況
②土壌性質で異なる有効根群域内の畑地土壌の水分保有能力
③畑作物の生育時期に応じた蒸発散量等の相関性によって左右される。
A)土壌水分に関する調査
(1)調査方法
イ)調査場所 茅部群森町字森川(大豆畑)
ロ)土壌水分測定法 テンションメーター(大起理化工業制)
ハ)調査期間 6月1日~9月30日
(2)調査成績
イ)降水量と土壌水分との関係
一般に下層(地表下30㎝)の土壌水分は降水量の多少に拘わらず、殆ど変化が認められぬ。これに反して、表層(地表下10㎝、20㎝)の土壌水分含量は降水量による影響が大きく、降雨後の水分含量は急激に増大する。然し乍、5mm以下の降水量の場合にはその影響が殆ど認められぬ。
又、降水量が少なく、旱魃の続いた7月下旬頃には地表下10、20、30㎝の土壌水分含量は殆ど同一になる。
調査期間中(6月~9月)の土壌水分は地表下20㎝が常に高く、次いで10㎝、30㎝の順である。
このことから下層からの水分供給はあまり期待出来ない。


ロ)土壌水分の保期能力
その1
| 層序 | 層厚 (㎝) |
容積重 | 土壌3相 (%) | PF0 最大溶水量 容積(%) |
PF1.6 容積(%) |
PF2.0 圃場溶水量 |
PF3.0 水分当量 |
PF4.2 凋萎点 |
有効水分 | PF4.2~ PF3.0 |
PF3.0~ PF2.0 |
||||||
| 固相 | 液相 | 気相 | 重量(%) | 容積(%) | 重量(%) | 容積(%) | 重量(%) | 容積(%) | 容積(%) | mm | 容積(%) | 容積 | |||||
| 1 | 010 | 1.45 | 37.7 | 13.0 | 49.3 | 41.3 | 32.5 | 16.8 | 24.4 | 7.6 | 11.0 | 3.6 | 5.2 | 19.2 | 19.2 | 5.8 | 13.4 |
| 2 | 1020 | 1.44 | 38.2 | 12.7 | 49.1 | 40.3 | 31.7 | 15.9 | 22.9 | 8.3 | 12.0 | 4.1 | 5.9 | 17.0 | 17.0 | 6.1 | 10.9 |
| 3 | 2030 | 1.34 | 40.5 | 11.0 | 48.5 | 29.8 | 28.5 | 13.0 | 17.4 | 6.5 | 8.6 | 2.8 | 3.8 | 13.6 | 13.6 | 4.8 | 8.8 |
本土壌の土層別有効水分量は17~19mm前後であるが、PF3.0で、上下2つの領域に区分するとPF3.0~4.0の間の水分容量は6%前後で各土層共変わらぬ。一方、PF2.0~3.0間のそれは各土層によって可成り異なる点より、木土壌の有効水分量としては、PF2.0~3.0の間に重点を置いた方が妥当と思われる。
ハ)土壌水分の消費
大豆畑の蒸発散量と水分消費型
| 調査時期 | 7月3日~7月7日 | 7月31日~8月7日 | ||
| 土層の深さ/項目 | △W | S.M・E.P | △W | S.M・E.P |
| ㎝ 0~10 |
mm 8.7 |
% 35.8 |
mm 19.5 |
% 39.5 |
| 10~20 | 10.1 | 41.5 | 20.8 | 42.2 |
| 20~30 | 5.5 | 22.7 | 9.0 | 18.3 |
| ET(mm) | 24.3 | 100.0 | 49.3 | 100.0 |
| ET(mm/dag) | 4.9 | 5.5 | ||
根群域を3等分すると、表層より36~40%、42%、18~23%の割合で水分を消費し、2層(10~20㎝)の水分消費量が比較的大きく、しかも、0~20㎝の水分消費量は、全体の80%以上に達している。又、夏季の作物生育最盛期の蒸発散量は1日5mm前後である。
ニ)灌漑量と間断日数(間隔日数)
灌漑量の算出には
D=1/100(F・C-0.6F・C)As・d
D-灌漑水量 As-土壌の仮比量
F・C-圃場容水量 d-有効土層の深さ
なる式を用い、1回の灌水量を10a当15~20mmと推定した。
また、間断日数
| 1回の灌漑水量 | ||
| 間断日数= |
|
|
| 蒸発散量 |
ト)施肥量
| 作物名 | 10a当要素量(㎏) | 10a当施用量(㎏) | ||
| N | P2O5 | K2O | 堆肥 | |
| 燕麦 | 4.50 | 7.50 | 4.50 | 1,200 |
| 馬鈴薯 | 7.50 | 11.00 | 9.50 | 1,800 |
| 大豆 | 1.50 | 7.50 | 4.50 | 750 |
(2)試験成績
1.燕麦に対する三要素試験
a 耕種梗概
イ 供試品種 前進
ロ 耕種法 条播、畦巾54㎝
ハ 播種期 4月27日
ニ 収穫期 8月10日
ホ 灌水期間 6月10日~7月30日
b 試験成績
イ 生育及び収量調査
| 試験区別/項目 | 成熟期の生育調査 | 10a当収量 | 収量比率(%) | |||||
| 稈長(㎝) | 穂長(㎝) | 穂数(本) | 総重(㎏) | 茎幹重(㎏) | 子実重(㎏) | |||
| 無灌水系列 | 1 無肥料区 | 63.4 | 19.0 | 30 | 231 | 106 | 108 | 53 |
| 2 無窒素区 | 66.6 | 20.9 | 34 | 221 | 102 | 102 | 49 | |
| 3 無燐酸区 | 77.5 | 25.7 | 34 | 294 | 130 | 139 | 68 | |
| 4 無加里区 | 83.2 | 24.8 | 34 | 389 | 187 | 176 | 85 | |
| 5 三要素区 | 95.5 | 24.9 | 37 | 499 | 250 | 206 | 100 | |
| 6 堆肥併用区 | 96.5 | 25.7 | 38 | 517 | 272 | 214 | 104 | |
| 灌水系列 | 1 無肥料区 | 65.6 | 20.7 | 34 | 252 | 110 | 109 | 48 (53) |
| 2 無窒素区 | 66.2 | 20.9 | 34 | 231 | 106 | 109 | 48 (53) |
|
| 3 無燐酸区 | 87.7 | 26.5 | 33 | 433 | 217 | 185 | 81 (90) |
|
| 4 無加里区 | 93.9 | 24.4 | 38 | 476 | 249 | 193 | 85 (94) |
|
| 5 三要素区 | 100.7 | 24.6 | 38 | 546 | 290 | 228 | 100 (111) |
|
| 6 堆肥併用区 | 101.7 | 25.1 | 37 | 564 | 287 | 244 | 107 (119) |
|
ロ 収穫物の分析結果
| 試験区別/項目 | N(%) | P2O5(%) | K2O(%) | 10a当養分吸収量(㎏) | 吸収率 | ||||||
| 茎幹 | 子実 | 茎幹 | 子実 | 茎幹 | 子実 | N | P2O5 | K2O | |||
| 無灌水系列 | 1 無肥料区 | 0.50 | 1.70 | 0.45 | 0.77 | 1.67 | 0.57 | 2.37 | 1.31 | 2.38 | N:55.8% P2O5:16.8% K2O:67.1% |
| 2 無窒素区 | 0.59 | 1.81 | 0.45 | 0.85 | 1.91 | 0.59 | 2.43 | 1.32 | 2.55 | ||
| 3 無燐酸区 | 0.56 | 1.82 | 0.24 | 0.81 | 1.84 | 0.60 | 3.26 | 1.43 | 3.22 | ||
| 4 無加里区 | 0.59 | 1.82 | 0.19 | 0.86 | 0.66 | 0.59 | 4.30 | 1.87 | 2.27 | ||
| 5 三要素区 | 0.45 | 1.86 | 0.38 | 0.84 | 1.63 | 0.60 | 4.95 | 2.69 | 5.30 | ||
| 6 堆肥併用区 | 0.49 | 1.96 | 0.41 | .91 | 2.46 | 0.57 | 5.53 | 3.05 | 7.93 | ||
| 灌水系列 | 1 無肥料区 | 0.49 | 1.68 | 0.35 | 0.76 | 2.09 | 0.57 | 2.37 | 1.21 | 2.91 | N:65.4% P2O5:2.1% K2O:46.8% |
| 2 無窒素区 | 0.48 | 1.67 | 0.42 | 0.77 | 1.92 | 0.58 | 2.32 | 1.29 | 2.67 | ||
| 3 無燐酸区 | 0.58 | 1.70 | 0.31 | 0.75 | 1.77 | 0.64 | 4.39 | 2.06 | 5.01 | ||
| 4 無加里区 | 0.44 | 1.70 | 0.28 | 0.77 | 1.13 | 0.62 | 4.45 | 2.24 | 4.01 | ||
| 5 三要素区 | 0.43 | 1.75 | 0.17 | 0.76 | 1.62 | 0.63 | 5.27 | 2.22 | 6.12 | ||
| 6 堆肥併用区 | 0.45 | 1.77 | 0.19 | 0.75 | 1.92 | 0.62 | 5.94 | 2.38 | 7.01 | ||
作付期間中(5月~8月)の総降水量は403.3mm、灌漑総水量は200mmであった。
灌水の効果は栄養生長期間中あまり判然としなかったが、出穂期頃より急激に草丈及び葉色に顕著に現れた。
収量調査の結果、無灌水及び灌水両系列共に三要素区>無加里区>無燐酸区>無窒素区の順に子実収量が高く、特に窒素の肥効が顕著である。一方、無燐酸区の収量指数は無灌水系列では68、灌水系列は81、無加里区の収量指数は無灌水系列では85に対して灌水系列は94の高い収量を示し、灌水によって燐酸及び加里の肥効がやや軽減された。〔即土壌の供給力が多い〕
又、無窒素区を除く各区の茎幹重、子実重は常に灌水系列の方が高く、灌水の効果が判然と現れている。
一方、収穫物の分析結果によると、灌水系列は無灌水系列に比較して施用窒素の吸収率が高く、逆に、燐酸及び加里の吸収率はやや低い。
2.馬鈴薯に対する三要素試験
a 耕種梗概
イ 供試品種 農林1号
ロ 耕種法 畦巾66㎝、株間30㎝
ハ 播種期 4月27日
ニ 収穫期 9月12日
ホ 灌水期間6月20日~8月20日
b 試験成績
イ 生育及び収量調査
| 試験区別/項目 | 開花期の生育調査 | 10a当収量(㎏) | 澱粉価(%) | 澱粉収量(㎏) | 収量比率(%) | |||||
| 草丈(㎝) | 茎数(本) | 大芋 | 中芋 | 小芋 | 計 | |||||
| 無灌水系列 | 1 無肥料区 | 20.2 | 3.6 | - | 76 | 368 | 444 | 15.1 | 67 | 21 |
| 2 無窒素区 | 19.2 | 3.1 | 23 | 139 | 385 | 547 | 15.2 | 83 | 26 | |
| 3 無燐酸区 | 31.6 | 5.5 | 360 | 518 | 560 | 1,438 | 15.5 | 223 | 68 | |
| 4 無加里区 | 29.1 | 6.2 | 22 | 245 | 642 | 909 | 12.7 | 115 | 43 | |
| 5 三要素区 | 42.7 | 6.4 | 368 | 1,151 | 583 | 2,102 | 15.3 | 322 | 100 | |
| 6 堆肥併用区 | 42.5 | 6.7 | 412 | 1,140 | 613 | 2,165 | 15.8 | 342 | 103 | |
| 灌水系列 | 1 無肥料区 | 17.6 | 3.9 | - | 6 | 390 | 396 | 15.1 | 60 | 20 (19) |
| 2 無窒素区 | 23.8 | 3.5 | 11 | 64 | 489 | 564 | 15.5 | 88 | 28 (27) |
|
| 3 無燐酸区 | 33.3 | 4.3 | 113 | 495 | 670 | 1,278 | 15.2 | 194 | 64 (61) |
|
| 4 無加里区 | 26.3 | 5.9 | - | 147 | 632 | 779 | 13.2 | 103 | 39 (37) |
|
| 5 三要素区 | 42.7 | 6.0 | 221 | 726 | 1,044 | 1,991 | 15.2 | 303 | 100 (95) |
|
| 6 堆肥併用区 | 43.4 | 6.2 | 268 | 812 | 1,015 | 2,095 | 15.6 | 327 | 105 (101) |
|
作付期間中(5月~9月)の総降水量は609.2mm、灌漑層水量は240mmである。
生育全般を通じて無灌水系列と灌水系列との間には判然たる差異が認められなかった。
収量調査の結果によると、灌水系列の塊茎収量は無灌水系列のそれより低く、且つ、大芋及び中芋の量が少なく、小芋の割合が多い傾向を示している。両系列共、三要素区の収量指数を100とした場合、無窒素区は30、無加里区は40前後で可成り低く、窒素及び加里の肥効が特に顕著である。
又、両系列共に堆肥の施用効果はあまり判然としなかった。馬鈴薯に対する灌漑の効果が認められなかったのは平年以上に降水量が多い上に、更に多量の灌水をしたためと思われる。
3.大豆に対する算用素試験
a 耕種梗概
イ 供試品種 白鶴の子
ロ 耕種法 畦巾60㎝、株間30㎝
ハ 播種期 5月15日
ニ 収穫期 9月29日
ホ 灌水期間 7月1日~9月10日
b 試験成績
イ 生育及び収量調査
| 試験区別/項目 | 成熟期の生育調査 | 10a当収量(㎏) |
|
収量収率(%) | ||||||||
| 草丈(㎝) | 分枝数(本) | 莢数(ケ) | 総重 | 稈莢重 | 子実量 | |||||||
| 無灌水系列 | 1 無肥料区 | 61.5 | 8.8 | 31 | 325 | 227 | 99 | 0.44 | 49 | |||
| 2 無窒素区 | 76.6 | 8.2 | 39 | 394 | 257 | 137 | 0.54 | 68 | ||||
| 3 無燐酸区 | 81.6 | 8.8 | 45 | 579 | 382 | 197 | 0.52 | 97 | ||||
| 4 無加里区 | 78.0 | 7.7 | 40 | 471 | 293 | 178 | 0.61 | 88 | ||||
| 5 三要素区 | 82.6 | 8.9 | 42 | 607 | 397 | 203 | 0.51 | 100 | ||||
| 6 堆肥併用区 | 79.6 | 8.6 | 40 | 635 | 416 | 220 | 0.53 | 109 | ||||
| 灌水系列 | 1 無肥料区 | 62.2 | 6.9 | 42 | 320 | 183 | 137 | 0.75 | 62 (68) |
|||
| 2 無窒素区 | 70.2 | 6.6 | 41 | 360 | 204 | 156 | 0.76 | 70 (77) |
||||
| 3 無燐酸区 | 64.9 | 7.7 | 48 | 404 | 217 | 187 | 0.86 | 84 (92) |
||||
| 4 無加里区 | 76.1 | 8.1 | 46 | 362 | 205 | 157 | 0.77 | 71 (78) |
||||
| 5 三要素区 | 79.5 | 8.9 | 55 | 477 | 255 | 222 | 0.87 | 100 (110) |
||||
| 6 堆肥併用区 | 76.6 | 9.1 | 56 | 530 | 283 | 247 | 0.87 | 111 (122) |
||||
作付期間中(5月~9月)の総降水量は614.3mm、灌漑総水量は240mmである。
全般に灌水系列は無灌水系列に比して、草丈はやや低いが登熟は良好で、且、着莢数も多い。
収量調査の結果、灌水系列は無灌水系列に比較して稈莢重は低いが、子実収量が逆に高く、10%以上の増収を示した。両系列共に三要素区の収量指数を100とした場合、無窒素区は70、無加里区は80前後で窒素と加里の肥効がやや顕著に現れている。
又、堆肥併用区が両系列共に10%前後の増収を示して、大豆に対して堆肥の施用効果が著しい。
(3)要約
1)燕麦は窒素、燐酸、加里の順で窒素の肥効が極めて顕著であり、馬鈴薯及び大豆の両作物は窒素、加里、燐酸の順序で窒素と加里の肥効が強く現れた。
2)各作物共、灌漑によって燐酸の肥効はやや軽減されたが窒素の肥効は極めて顕著である。又、堆肥の施用効果も作物の種類によって差異はあるが、燕麦及び大豆ではその効果が認められた。
3)各作物の作付期間中の供給水量(降水量+灌漑水量)は燕麦で603mm、馬鈴薯で850mm、大豆では854mm前後である。燕麦及び大豆は灌漑によって10%以上の増収を示したが、馬鈴薯ではその効果が殆ど認められなかったのは供給水量が多かったものと考えられる。
C)灌漑と施肥法との関係
(1)試験方法
イ)供試作物 馬鈴薯(農林1号)
ロ)試験区 1区16m2、2連制
ハ)耕種梗概
栽植密度 畦巾66mm、株間36㎝
播種期 4月30日
収穫期 9月12日
ニ)灌水方法
灌水方法 スプリンクラーによる撒水灌漑
灌水期間 6月10日~8月20日
灌水量 7日毎に1回灌水し、1回の灌水量は10,,(少量灌漑)、20mm(中量灌漑)(但し、降水量を考慮の上)
ホ)試験区別
無灌漑、少量灌漑、中量灌漑の3系列の各々に、下記の試験区を設置する。
| 試験区別 | 10a当要素量(㎏) | 10a当施用量(㎏) | ||
| N | P2O5 | K2O | 堆肥 | |
| 1 標肥区 | 8.0 | 10.0 | 10.0 | 1,800.00 |
| 2 窒素増施区 | 12.0 | 10.0 | 10.0 | 1,800.00 |
| 3 燐酸増施区 | 8.0 | 15.0 | 10.0 | 1,800.00 |
| 4 加里増施区 | 8.0 | 10.0 | 15.0 | 1,800.00 |
| 5 多肥区 | 12.0 | 15.0 | 15.0 | 1,800.00 |
(2)試験成績
イ 生育及び収量調査
| 試験区別/項目 | 開花期の生育調査 | 10a当収量(㎏) | 澱粉価 (%) |
澱粉収量 (㎏) |
塊茎収量比 (%) |
|||||
| 草丈(㎝) | 茎数(本) | 大芋 | 中芋 | 小芋 | 計 | |||||
| 無灌漑系列 | 1 標肥区 | 39.6 | 4.2 | 320 | 1,199 | 1,060 | 2,579 | 14.8 | 382 | 100 |
| 2 窒素増施区 | 44.4 | 5.2 | 612 | 1,485 | 1,017 | 3,114 | 15.2 | 473 | 124 | |
| 3 燐酸 〃 | 42.2 | 5.0 | 378 | 1,280 | 1,141 | 2,799 | 15.3 | 428 | 112 | |
| 4 加里 〃 | 40.9 | 4.4 | 356 | 1,178 | 1,071 | 2,605 | 15.1 | 394 | 103 | |
| 5 多肥区 | 45.5 | 5.0 | 644 | 1,569 | 1,037 | 3,250 | 15.3 | 498 | 130 | |
| 少量灌漑系列 | 1 標肥区 | 39.2 | 4.4 | 290 | 1,285 | 1,065 | 2,640 | 14.8 | 391 | 100 (102) |
| 2 窒素増施区 | 46.0 | 5.4 | 812 | 1,979 | 1,005 | 3,796 | 15.6 | 594 | 152 (122) |
|
| 3 燐酸 〃 | 43.9 | 4.7 | 563 | 1,805 | 1,120 | 3,488 | 15.8 | 552 | 141 (125) |
|
| 4 加里 〃 | 41.6 | 4.8 | 328 | 1,225 | 1,104 | 2,647 | 14.5 | 384 | 98 (102) |
|
| 5 多肥区 | 43.5 | 5.0 | 633 | 1,864 | 1,015 | 3,512 | 15.2 | 534 | 137 (109) |
|
| 中量灌漑系列 | 1 標肥区 | 39.0 | 5.2 | 214 | 1,268 | 1,037 | 2,519 | 15.0 | 378 | 100 (98) |
| 2 窒素増施区 | 43.7 | 5.8 | 911 | 1,817 | 1,137 | 3,865 | 16.1 | 624 | 165 (124) |
|
| 3 燐酸 〃 | 42.2 | 6.0 | 435 | 1,470 | 1,311 | 3,216 | 15.5 | 500 | 132 (115) |
|
| 4 加里 〃 | 40.0 | 5.7 | 310 | 1,230 | 1,259 | 2,799 | 14.5 | 405 | 107 (108) |
|
| 5 多肥区 | 42.9 | 6.1 | 544 | 1,702 | 1,109 | 3,355 | 15.2 | 309 | 134 (105) |
|
塊茎の大さ別の状況
| 試験区別/項目 | 塊茎の構成割合(%) | 株当り 塊茎数(ケ) |
塊茎平均 1個重(g) |
塊茎数比 (%) |
||||
| 大芋 | 中芋 | 小芋 | 計 | |||||
| 無灌漑系列 | 1 標肥区 | 12.4 | 46.5 | 41.1 | 100 | 5.8 | 84.3 | 100 |
| 2 窒素増施区 | 19.6 | 48.7 | 32.7 | 100 | 6.4 | 94.5 | 110 | |
| 3 燐酸 〃 | 13.5 | 46.3 | 40.2 | 100 | 6.3 | 84.1 | 109 | |
| 4 加里 〃 | 13.6 | 45.2 | 41.2 | 100 | 6.0 | 83.1 | 102 | |
| 5 多肥区 | 19.8 | 48.3 | 31.9 | 100 | 6.5 | 95.5 | 111 | |
| 少量灌漑系列 | 1 標肥区 | 11.0 | 48.6 | 40.4 | 100 | 6.0 | 84.4 | 100 (102) |
| 2 窒素増施区 | 21.3 | 52.1 | 26.6 | 100 | 7.7 | 94.8 | 129 (121) |
|
| 3 燐酸 〃 | 16.1 | 51.7 | 32.2 | 100 | 7.6 | 86.7 | 127 (119) |
|
| 4 加里 〃 | 12.4 | 46.3 | 41.3 | 100 | 6.5 | 80.8 | 109 (108) |
|
| 5 多肥区 | 18.1 | 53.1 | 28.8 | 100 | 7.0 | 95.4 | 118 (108) |
|
| 中量灌漑系列 | 1 標肥区 | 8.5 | 50.3 | 41.2 | 100 | 6.6 | 72.7 | 100 (113) |
| 2 窒素増施区 | 23.6 | 47.0 | 29.4 | 100 | 8.2 | 82.5 | 135 (121) |
|
| 3 燐酸 〃 | 13.5 | 45.6 | 40.9 | 100 | 8.0 | 80.0 | 121 (125) |
|
| 4 加里 〃 | 11.1 | 43.9 | 45.0 | 100 | 6.7 | 77.9 | 102 (113) |
|
| 5 多肥区 | 16.2 | 50.7 | 33.1 | 100 | 7.6 | 90.0 | 108 (109) |
|
作付期間中(5月~9月)の供給水量(降水量+灌漑水量)は無灌漑系列では550mm、少量灌漑系列で650mm、中量灌漑系列は750mmである。
草丈は無灌漑系列>少量灌漑系列>中量灌漑系列の順に無灌漑系列はまさっていたが、茎数及び葉面積の増加量は逆に中量圏外系列>少量灌漑系列>無灌漑系列の順に遙かにまさっており、且、葉色も濃い。
収量面に於いては、各系列共に窒素増施区>多肥区≧燐酸増施区>加里増施区≧概肥区の順に、窒素増施の効果が顕著に、燐酸増施の効果はやや認められ、加里増施の効果は殆ど認められぬ。
又、標肥区、加里増施区では灌漑の効果があまり認められないが、窒素増施区では無灌漑系列の塊茎収量を100とすると少量灌漑系列が122、中量灌漑系列が124で、灌水量の増加に伴って窒素増施の効果が顕著に現れている。
次ぎに、その内容についてみると、灌水量の増加につれて塊茎平均1個重が減少し、株当り塊茎数が増加し、大芋の量が少なく、中芋及び小芋が多くなる傾向を示している。
(3)要約
1)本土壌に於ける馬鈴薯に対する施肥法としては株当たり塊茎数の増加を目的として、先ず窒素に重点を置き、次ぎに燐酸に重点を置くべきであり、施肥量としては地租s12㎏、燐酸15㎏、加里10㎏(何れも10アール当要素量)地度が適当と思われる。
2)灌水量の増加に伴って窒素増施の効果が顕著に、燐酸総増施の効果はやや認められるが加里増施の効果は殆ど認められぬ、又、灌漑によって塊茎収量よりも塊茎数が増加する傾向を示す。
3)馬鈴薯に対する灌水量としては収量及び経済性の両面よりみて、6月~8月までの3ヶ月間に100mm程度、生育期間中の供給水量(降水量+灌水量)としては650mm程度がもっとも妥当と思われる。
D)灌漑時期と灌水量について
1.作物水分生理上から
(1)試験方法
イ)供試作物 燕麦、馬鈴薯、大豆
ロ)試験区 1区15m2、2連制
ハ)灌水方法 多孔ホーズによる撒水灌漑
ニ)試験区別
各作物毎に下記の試験区を設置した。
1.無灌水区
2.前期灌水A区(2日毎に10mm)
3. 〃 B区( 〃 20mm)
4.盛期灌水A区( 〃 10mm)
5. 〃 B区( 〃 20mm)
6.後期灌水A区( 〃 10mm)
7. 〃 B区( 〃 20mm)
灌漑総水量は70mmと140mmとなる。
ホ)灌水期間 15日間
ヘ)施肥量
| 作物名 | 10a当要素量(㎏) | 10a当施用量(㎏) | ||
| N | P2O5 | K2O | 堆肥 | |
| 燕麦 | 5.0 | 8.0 | 5.0 | 1,200.0 |
| 馬鈴薯 | 10.0 | 15.0 | 10.0 | 1,800.0 |
| 大豆 | 2.0 | 8.0 | 5.0 | 750.0 |
(2)試験成績
その1 燕麦
a 耕種梗概
イ 供試品種 前進
ロ 耕種法 条播、畦巾54㎝
ハ 灌水時期
①前時灌水-播種後45日目
②盛期 〃 - 〃 60日目(出穂始)
③後期 〃 - 〃 15日目
ニ 播種期 4月25日
ホ 収穫機 8月7日
b 試験成績
イ 生育及び収量調査
| 試験区別/項目 | 成熟期の生育調査 | 10a当収量(㎏) |
|
収量比率(%) | ||||||||
| 稈長(㎝) | 穂長(㎝) | 穂数(本) | 総重 | 茎稈重 | 子実重 | |||||||
| 1 無灌水区 | 95.3 | 20.6 | 30 | 521 | 269 | 215 | 0.80 | 100 | ||||
| 2 前期灌水A区 | 111.4 | 22.3 | 40 | 698 | 385 | 259 | 0.67 | 120 | ||||
| 3 〃 B区 | 110.8 | 21.8 | 40 | 672 | 360 | 251 | 0.69 | 117 | ||||
| 4 盛期灌水A区 | 111.6 | 21.5 | 42 | 699 | 365 | 275 | 0.75 | 128 | ||||
| 5 〃 B区 | 108.2 | 21.7 | 43 | 665 | 340 | 271 | 0.79 | 126 | ||||
| 6 後期灌水A区 | 107.7 | 21.1 | 37 | 646 | 331 | 264 | 0.79 | 123 | ||||
| 7 〃 B区 | 106.3 | 22.0 | 38 | 661 | 331 | 261 | 0.79 | 121 | ||||
ロ 収穫物の分析成績
| 試験区別/項目 | N(%) | P2O5(%) | K2O(%) | 10a当養分吸収量(㎏) | 子実への N移行割合(%) |
||||||
| 茎幹 | 子実 | 茎幹 | 子実 | 茎幹 | 子実 | N | P2O5 | K2O | |||
| 1 無灌水区 | 0.24 | 1.33 | 0.13 | 0.80 | 1.85 | 0.56 | 3.51 | 2.00 | 6.19 | 81.3 | |
| 2 前期灌水A区 | 0.32 | 1.67 | 0.38 | 0.85 | 2.20 | 0.64 | 5.73 | 3.75 | 10.21 | 78.2 | |
| 3 〃 B区 | 0.31 | 1.66 | 0.39 | 0.86 | 2.18 | 0.62 | 5.47 | 3.64 | 9.50 | 79.3 | |
| 4 盛期灌水A区 | 0.27 | 1.55 | 0.35 | 0.87 | 2.36 | 0.60 | 5.25 | 3.68 | 10.25 | 80.9 | |
| 5 〃 B区 | 0.27 | 1.56 | 0.34 | 0.87 | 2.22 | 0.57 | 5.15 | 3.52 | 9.10 | 81.9 | |
| 6 後期灌水A区 | 0.26 | 1.46 | 0.32 | 0.85 | 2.25 | 0.55 | 4.88 | 3.38 | 8.96 | 82.1 | |
| 7 〃 B区 | 0.25 | 1.49 | 0.33 | 0.86 | 2.25 | 0.54 | 4.87 | 3.43 | 8.86 | 82.7 | |
作付期間中(5月~8月)の総降水量は461.6mmであった。
灌水の効果は生育時期によって燕麦に及ぼす影響が異なり、前期灌水(播種後45日目灌水)、盛期灌水(播種後60日目灌水)後期灌水(出穂後15日目灌水)の順に早期に灌水せるものほど、草丈の伸長及び茎数の増加は顕著であるが有効茎歩合は逆に減少する傾向を示し、1回の灌水量の多少の間には生育の差異が認められない。
無灌水区の子実収量を100とした場合、前期灌水A区は120、盛期灌水A区は128、後期灌水A区は123であり、灌水により20~28%の増収を示し、各灌水区のA(10mm灌水)とB(20mm灌水)区の収量間に差は認められない。
一方、収穫物の分析結果によると、生育全期に灌水せるものほど、窒素含有率、窒素吸収量が高いが子実への養分移行割合は逆に生育後期に灌水せるものほど高い。
その2 馬鈴薯
a 耕種梗概
イ 供試品種 農林1号
ロ 耕種法 畦巾66㎝、株間30㎝
ハ 灌水時期
①前期灌水-播種後45日目
②盛期 〃 -開花始
③後期 〃 -開花後15日目
ニ 播種期 4月25日
ホ 収穫期 9月12日
b 試験成績
イ 生育及び収量調査
| 試験区別/項目 | 開花期の生育調査 | 10a当収量(㎏) | 塊茎の構成割合(%) | 塊茎 収量比(%) |
||||||||
| 草丈(㎝) | 茎数(本) | 大芋 | 中芋 | 小芋 | 計 | 大芋 | 中芋 | 小芋 | 計 | |||
| 1 無灌水区 | 37.5 | 4.5 | 205 | 803 | 1,362 | 2,370 | 3.1 | 22.2 | 74.7 | 100.0 | 100 | |
| 2 前期灌水A区 | 36.5 | 4.6 | 565 | 1,451 | 873 | 2,880 | 9.5 | 42.3 | 48.2 | 100.0 | 122 | |
| 3 〃 B区 | 36.8 | 4.6 | 652 | 1,264 | 1,069 | 2,936 | 9.2 | 32.5 | 58.3 | 100.0 | 124 | |
| 4 盛期灌水A区 | 36.3 | 4.7 | 578 | 1,484 | 929 | 2,991 | 9.4 | 39.2 | 51.4 | 100.0 | 126 | |
| 5 〃 B区 | 36.1 | 4.9 | 617 | 1,382 | 1,046 | 3,045 | 9.4 | 36.4 | 54.2 | 100.0 | 128 | |
| 6 後期灌水A区 | 35.1 | 4.8 | 664 | 1,509 | 802 | 2,975 | 12.1 | 39.4 | 48.5 | 100.0 | 126 | |
| 7 〃 B区 | 35.8 | 4.6 | 606 | 1,364 | 939 | 2,909 | 10.6 | 37.5 | 51.9 | 100.0 | 123 | |
作付期間中(5月~9月)の総降水量は528.9mmであった。
生育全般を通じて無灌水区と灌水処理区の間には判然たる生育の差が認められなかったが、生育後期に灌水せるものほど葉色が濃く、茎葉の枯凋も遅かった。
無灌漑水区の塊茎収量を100とすると、前期灌水A区は122、盛期灌水A区は126、後期灌水A区は126で灌水により22~26%前後の増収を示し、その内容についてみると、大芋及び中芋の両が多く、塊茎平均1個重が大で、この事が増収の原因と思われる。又、灌水時期及び灌水量の多少による差異は殆ど認められない。盛期灌水区(開花始灌水区)がややまさっている。
その3 大豆
a 耕種梗概
イ 供試品種 白鶴の子
ロ 耕種法 畦巾60㎝、株間30㎝
ハ 灌水時期
①前期灌水-播種後50日目
②盛期 〃 -開花始
③後期 〃 -開花後15日目
ニ 播種期 5月15日
ホ 収穫期 10月12日
b 試験成績
イ 生育及び収量調査
| 試験区別/項目 | 成熟期の生育調査 | 10a当収量(㎏) |
|
個実収量比(%) | ||||||||
| 草丈(㎝) | 分枝数(本 | 莢数(ケ) | 総重 | 稈莢重 | 子実重 | |||||||
| 1 無灌水区 | 68.7 | 8.1 | 57 | 488 | 285 | 183 | 0.64 | 100 | ||||
| 2 前期灌水A区 | 70.0 | 7.8 | 59 | 393 | 240 | 133 | 0.55 | 73 | ||||
| 3 〃 B区 | 71.8 | 7.9 | 61 | 413 | 247 | 147 | 0.59 | 80 | ||||
| 4 盛期灌水A区 | 77.7 | 7.8 | 68 | 556 | 268 | 260 | 0.97 | 142 | ||||
| 5 〃 B区 | 78.3 | 7.8 | 67 | 558 | 274 | 261 | 0.95 | 143 | ||||
| 6 後期灌水A区 | 77.0 | 8.3 | 71 | 540 | 268 | 250 | 0.93 | 136 | ||||
| 7 〃 B区 | 76.8 | 8.4 | 69 | 539 | 269 | 246 | 0.91 | 134 | ||||
作付期間中(5月~9月)の総降水量は552.8mmであった。
大豆は燕麦及び馬鈴薯と異なり、灌水時期による処理の間の差が生育に顕著に現れ、一般に生育初期に灌水した前期灌水区は無灌水区と同様に他区に比して草丈及び分枝数共に劣り、生育後期に於ける落葉が早く、着莢数も少なかった。これに反して、開花始以降灌水せる盛期灌水、後期灌水量区は葉色も濃く、草丈の伸長及び着莢数も多かった。
無灌水区の子実収量を100とした場合、前期灌水A区(播種後50日目灌水区)は73、盛期灌水A区(開花後15日目灌水区)は136であり、前期灌水区は無灌水区に比し20~30%程度減少し、盛期灌水及び後期灌水区は子実重で35~43%程度の増収を示した。灌水量の多少間には顕著な収量差は認められなかった。
(3)要約
1)燕麦に対する効果的な灌漑時期は生育、収量及び養分吸収の面よりみて出穂始であるが、灌漑時期及び灌水量による処理間の差は比較的少ない。尚、生育期間中(5月上旬~8月上旬)の供給水量(降雨量+灌漑水量)は530~600mm程度である。
2)馬鈴薯に対する効果的な灌漑時期は開花始であるが、灌漑時期及び灌水量による処理間の差は比較的少ない。尚、生育期間中(5月上旬~9月上旬)の供給水量は600~670mm程度である。
3)大豆に対するもっとも効果的な灌漑時期は開花始~開花揃頃であり、大豆は燕麦及び馬鈴薯と異なり、灌漑時期による処理間の差が極めて顕著に認められた。尚、生育期間中(5月下旬~10月上旬)の供給水量は630~700mm程度である。
4)燕麦、馬鈴薯、大豆3作物共に灌漑総水量として100mm前後、1回の灌水量として10mm程度が妥当である。
尚、灌漑総水量70~140mmは制限された畑地灌漑条件下に於ける灌漑水量であることを附記する。
2.土壌夕刻水分の関係から
(2)試験方法
イ)供試作物 馬鈴薯、大豆
ロ)試験区 1区15m2、2連制
ハ)灌水方法 多孔ホースによる撒水灌漑
ニ)試験区別
各作物に下記の試験区を設置する。
| 区 別 | 処 理 内 容 | 1回の灌水量 |
| 1 無灌水 | - | - |
| 2 15㎝水銀柱時灌水 | 土壌中の有効水分の25%が消費された時(PFで水分状態を表せばPF2.15の時)灌水 | 10mm |
| 3 25㎝ 〃 | 有効水分の50%が消費された時(同じくPF2.35となった時)灌水 | 20mm |
| 4 35㎝ 〃 | 有効水分の75%が消費された時(同じくPF2.65となった時)灌水 | 30mm |
ホ)灌漑期間
馬鈴薯 6月15日~8月15日
大豆 7月1日~9月20日
ヘ)調査方法 テンションメーター(大起製)
ト)施肥量
| 作物名 | 10a当要素量(㎏) | 10a当施用量(㎏) | ||
| N | P2O5 | K2O | 堆 肥 | |
| 馬鈴薯 | 10.0 | 15.0 | 10.0 | 1,800.0 |
| 大豆 | 3.0 | 8.0 | 5.0 | 750.0 |
(3)試験成績
その1 馬鈴薯
a 耕種梗概
イ 供試品種 農林1号
ロ 耕種法 畦巾66㎝、株間30㎝
ハ 播種期 5月1日
ニ 収穫期 9月10日
ホ 灌漑回数
土壌水分を常にテンションメーターで測定し、その示度が下表の値を示した時前記の所定量の灌水を行った。測定結果から灌水を行った回数は次の通りであった。
| 試験区別 | 6月 | 7月 | 8月 | 計 |
| 1 15㎝Hg灌水区 | 3 | 3 | 2 | 8 |
| 2 25㎝Hg 〃 | - | 2 | 1 | 3 |
| 3 35㎝Hg 〃 | - | 2 | - | 2 |
b 試験成績
| 試験区別/項目 | 開花期の調査 | 10a当収量(㎏) | 塊茎の構成割合(%) | 塊茎平均 1個重(g) |
塊茎 収量比(%) |
|||||||
| 草丈(㎝) | 茎数(本) | 大芋 | 中芋 | 小芋 | 計 | 大芋 | 中芋 | 小芋 | 計 | |||
| 1 無灌水区 | 46.1 | 2.9 | 564 | 1,197 | 1,054 | 2,815 | 8.8 | 32.8 | 58.4 | 100.0 | 82.0 | 100 |
| 2 15㎝Hg灌水区 | 46.1 | 3.4 | 652 | 1,630 | 840 | 3,122 | 10.8 | 42.5 | 46.7 | 100.0 | 86.4 | 111 |
| 3 25㎝Hg 〃 | 51.5 | 3.0 | 796 | 1,586 | 836 | 3,218 | 11.6 | 41.4 | 47.0 | 100.0 | 88.3 | 114 |
| 4 30㎝Hg 〃 | 48.5 | 3.0 | 617 | 1,635 | 933 | 3,185 | 9.2 | 41.3 | 49.5 | 100.0 | 87.0 | 113 |
作付期間中(5月~8月)の総降水量は411.1mmであり、15㎝Hg灌水区の供給水量(降雨量+灌漑水量)は491mm、25㎝Hg灌水区は471mm、35㎝Hg灌水区は471mmである。
生育全般を通じて、無灌水区と灌水処理区の間には判然たる差異が認められなかった。
収量面においては、無灌水区の塊茎収量を100とすると15㎝Hg灌水区は111、25㎝Hg灌水区は114、35㎝Hg灌水区は113であって、灌水により11~14%前後の増収を示したが、灌漑時期による差異はあまり認められぬ。
しかし乍ら、25㎝Hg灌水区(土壌中の有効水分の50%が消費された時に灌漑を始める区)がややまさっている様に思われる。
その2 大豆
a 耕種梗概
イ 供試品種 白鶴の子
ロ 耕種法 畦巾60㎝、株間30㎝
ハ 播種期 5月14日
ニ 収穫期 10月23日
ホ 灌水回数
| 試験区別 | 7月 | 8月 | 9月 | 計 |
| 1 15㎝Hg灌水区 | 3 | 3 | 3 | 9 |
| 2 25㎝Hg 〃 | 2 | 2 | 2 | 6 |
| 3 35㎝Hg 〃 | 2 | 2 | - | 4 |
b 試験成績
イ 生育及び収量調査
| 試験区別/項目 | 開花期の生育調査 | 10a当収量(㎏) | 子実重/稈莢重 | 子実収量比(%) | ||||
| 草丈(㎝) | 分枝数(本) | 莢数(ケ) | 総重 | 稈莢重 | 子実重 | |||
| 1 無灌水区 | 43.6 | 4.2 | 40 | 501 | 286 | 208 | 0.73 | 100 |
| 2 15㎝Hg灌水区 | 75.9 | 3.4 | 40 | 484 | 266 | 204 | 0.77 | 98 |
| 3 25㎝Hg 〃 | 82.9 | 4.3 | 50 | 564 | 319 | 238 | 0.74 | 114 |
| 4 35㎝Hg 〃 | 81.0 | 4.4 | 49 | 548 | 307 | 232 | 0.79 | 111 |
作付期間中(5月~9月)の総降水量は439.1mmであり、15㎝Hg灌水区の供給水量(降雨量+灌漑水量)は530mm、25㎝Hg灌水区は560mm、35㎝Hg灌水区は560mmである。
大豆は馬鈴薯と異なり、灌漑回数の多い15㎝Hg灌水区は無灌水区と同様に他区に比して草丈及び着莢数が少なく、やや軟弱気味である。
収量調査の結果によると、無灌水区の子実収量を100とした場合、15㎝Hg灌水区は98、25㎝Hg灌水区は114、35㎝Hg灌水区は111であり、15㎝Hg灌水区がもっとも近かった。従って、土壌中の有効水分の50%が消費された時に灌漑を始める25㎝Hg灌水区がもっともまさっている様に思われる。
尚、根系調査によると、灌漑回数の多い15㎝Hg灌水区(低張力の土壌水分量の下で常に栽培されている区)は25㎝Hg灌水区及び35㎝Hg灌水区に比較して、根量は多いが表層のみに長く、伸びる傾向を示している。
灌漑時期を効率的に判定するために、テンションメーター(大起製)を使用して、灌漑開始の時期と土壌有効水分量との関係について調査した結果、
1)灌漑効果の比較的低い馬鈴薯に対する灌漑開始時期としては土壌中の有効水分の50%程度が消費された時に灌漑を始めるの妥当と思われる。
2)大豆に対する灌漑開始時期としては馬鈴薯と同様に根群域の土壌中の有効水分の50%程度が消費された時に灌漑を始めるのが生育及び収量に耕脚気を与え、もっとも実用的であると思われる。しかし乍らあまり低張力の土壌水分の下で栽培すると生育は勿論収量も劣り、且、根が表そうのみに多くなる関係上、逆に僅かの旱魃で萎凋し易くなる危険性を持っている。
E)灌漑による土壌理化学性の変化
当地域に於いては灌漑は土壌の有効水分量を増大し、作物の水分代謝を良好にして収量の増加を目的とするが、一方、灌漑が本土壌の理化学性に及ぼす影響を調査した結果は次の通りであった。
灌漑による土壌成分の変化 昭和36年収穫後調査(灌漑栽培1作期後)
| 区 名 | 層位 (㎝) |
PH | T-N (%) |
腐植 (%) |
C/N | 置換 容量 (ml) |
塩基 飽和度 (%) |
置換性の(mg) | 活性 Al2O3 (mg) |
N/5Hil可容 | 吸収係数 | |||||
| H2O | Kil | CaO | MgO | K2O | P2O5 (mg) |
K2O (mg) |
N | P2O5 | ||||||||
| 無灌漑区 | 0~12 | 6.13 | 5.14 | 0.20 | 2.31 | 6.9 | 21.4 | 88.8 | 503 | 48 | 13 | 29.3 | 86.4 | 3.7 | 287 | 1,219 |
| 12~25 | 6.06 | 5.13 | 0.17 | 2.57 | 8.9 | 14.0 | 71.4 | 258 | 26 | 5 | 20.2 | 117.7 | 2.6 | 226 | 549 | |
| 灌漑区 | 0~12 | 6.32 | 5.23 | 0.17 | 2.22 | 7.8 | 18.3 | 69.5 | 350 | 32 | 6 | 21.7 | 102.4 | 3.0 | 268 | 959 |
| 12~25 | 6.24 | 5.14 | 0.19 | 2.50 | 7.7 | 14.7 | 70.9 | 302 | 17 | 7 | 17.1 | 125.6 | 2.5 | 235 | 840 | |
①灌漑によって土壌中の窒素及び腐植含量が減少した。これは土壌中の有機物の分解が促進されたことを示す。
②灌漑によって土壌中の置換性石灰、苦土及び加里含量が低下しており塩基類の消耗が著しいことを示す。
③灌漑によって土壌中の活性 Al2O3量、燐酸吸収力が減少して有効態燐酸含量が増加して、燐酸の可給化が促進される。
灌漑水の分析成績(mg/L、1リットル中のミリグラム) (昭和37年7月31日採取)
| PH | 固形物 | 灼熱残渣 | 浮遊物 | 珪酸 SiO2 |
全チッソ T-N |
りん酸 P2O5 |
カリ K2O |
石灰 CaO |
苦土 MgO |
硫酸 SO3 |
塩素 Cl |
二三酸 化物 |
| 6.57 | 108.0 | 50.0 | 125.0 | 29.8 | 1.49 | 0.04 | 1.59 | 13.1 | 8.6 | 19.7 | 11.2 | 34.5 |
灌漑によって土壌に添加される成分量(100当㎏)
| SiO2 | T-N | P2O5 | K2O | CaO | MgO |
| 4.77 | 0.22 | 0.006 | 0.24 | 2.06 | 1.29 |
灌漑によって土壌に添加される成分は SiO2、CaO、MgOが多く、 P2O5は極めて少ない。
灌漑と土壌の粒径組成との関係
| 層厚(㎝) | 試験区別 | 粒 径 区 分 (mm) (%) | 固相量 (%) |
|||||
| 2.0< | 1.0~2.0 | 0.5~1.0 | 0.25~0.5 | 0.1~0.25 | 0.1> | |||
| 0~12 | 無灌漑区 | 2.9 | 8.4 | 22.0 | 43.7 | 12.9 | 10.1 | 44.1 |
| 灌漑区 | 3.2 | 11.6 | 27.6 | 43.4 | 8.3 | 5.9 | 42.3 | |
| 12~25 | 無灌漑区 | 2.7 | 7.8 | 25.0 | 47.1 | 9.9 | 7.4 | 45.0 |
| 灌漑区 | 2.4 | 7.7 | 24.0 | 46.5 | 10.8 | 8.6 | 40.3 | |
灌漑によって、表層では0.5mm以上の土壌粒子の割合が増加し、0.25mm以下の細かい粒子は逆に減少している。一方、下層に於いては逆に灌漑区の方が0.25mm以下の微細粒子の割合が増加している。
要約
要約すれば畑地灌漑が腐植及び粘土含量が少なく、保肥力の乏しい駒ヶ岳火山性土壌に及ぼす影響を調査した結果、
1)灌漑によって土壌中の燐酸が可給化される利点はあるが、一方、有機物の分解が促進されて地力の消耗と塩基類の下層への溶脱が大きい。
2)又、灌漑によって土壌への珪酸及び塩基がかなり加えられる。
3)灌漑によって、表層では0.5~2.0mmの団粒が増加し、0.25mm以下の微細粒子は水の作用により貸そうへの移動が著しい。
従って、本土壌では畑地灌漑の効率を増進させるためには、客土及び有機物の施用を併行すべきである。
F)灌漑栽培の大豆の施肥法について
(1)試験方法
その1
イ)供試品種 白鶴の子
ロ)試験区 1区20m2、2連制
ハ)耕種梗概
栽植密度 畦巾60㎝、株間30㎝
播種期 5月15日
収穫期 10月12日
ニ)灌水方法
灌水方法 スプリンクラーによる撒水灌漑
灌水期間 7月1日~8月30日
灌水量 7日毎に1回灌水し、1回の灌水量は15mm(但し、降水量を考慮の上)
ホ)試験区別
| 試験区別 | 10a当要素量(㎏) | 10a当施肥量(㎏) | ||
| N | P2O5 | K2O | 堆肥 | |
| 1 標肥区 | 2.0 | 8.0 | 5.0 | 750.0 |
| 2 窒素増施区 | 4.0 | 8.0 | 5.0 | 750.0 |
| 3 燐酸増施区 | 2.0 | 12.0 | 5.0 | 750.0 |
| 4 加里増施区 | 2.0 | 8.0 | 7.5 | 750.0 |
| 5 多肥区 | 4.0 | 12.0 | 7.5 | 750.0 |
(2)試験成績
イ 生育及び収量調査
| 試験区別/項目 | 成熟期の生育調査 | 10a当収量(㎏) | 子実重 / 稈莢重 |
子実 1,000 粒重(g) |
収量 比率 (%) |
||||
| 草丈(㎝) | 分枝数(本) | 莢数(ケ) | 総重 | 稈莢重 | 子実重 | ||||
| 1 標肥区 | 76.4 | 7.9 | 58 | 475 | 245 | 216 | 0.88 | 412 | 100 |
| 2 窒素増施区 | 85.2 | 8.5 | 66 | 586 | 292 | 266 | 0.91 | 420 | 123 |
| 3 燐酸増施区 | 80.4 | 8.1 | 63 | 529 | 271 | 236 | 0.87 | 432 | 109 |
| 4 加里増施区 | 75.7 | 7.4 | 57 | 542 | 284 | 216 | 0.75 | 416 | 100 |
| 5 多肥区 | 79.8 | 8.3 | 65 | 551 | 289 | 238 | 0.85 | 424 | 110 |
作付期間中(5月~10月)の総降水量は498.3mmで総灌漑水量は150mmである。
一般に、窒素増施区の生育がもっとも旺盛で、葉色濃く、草丈の伸長及び茎数の増加が目立ち、着莢素も多い。次いで、燐酸増施区の生育が要項であり、加里増資区の生育は標肥区のそれと大差ない。
収量調査の結果、標肥区の子実収量を100とすると窒素増施区は123、燐酸増施区は109、加里増施区は100、多肥区は110であって、窒素増資の効果が顕著に現れており、次いで燐酸増施の効果がやや認められ加里増施の効果が殆ど認められぬ。一方子実1,000粒重も子実重と同様の傾向を示して窒素増施区と燐酸増施区が重い。
その2
(2)試験方法
イ)供試品種 白鶴の子
ロ)試験区 1区15m2、2連制
ハ)耕種梗概
栽植密度 畦巾60㎝、株間30㎝
播種期 5月14日
収穫期 10月23日
ニ)灌水方法
灌水方法 スプリンクラーによる撒水灌漑
灌水期間 7月1日~9月20日
灌水量 7日毎に1回灌水し、1回の灌水量は15mm(但し、降水量を考慮の上)
ホ)試験区別
| 試験区別/区目 | 10a当要素量(㎏) | 10a当施用量(㎏) | |||
| N | P2O5 | K2O | 堆肥 | ||
| 作条 | 全層 | ||||
| 1 作条N 2㎏区 | 2.0 | - | 8.0 | 5.0 | 750.0 |
| 2 〃 4㎏区 | 4.0 | - | 8.0 | 5.0 | 750.0 |
| 3 〃 6㎏区 | 6.0 | - | 8.0 | 5.0 | 750.0 |
| 4 〃 8㎏区 | 8.0 | - | 8.0 | 5.0 | 750.0 |
| 5 全層N 4㎏区 | 2.0 | 2.0 | 8.0 | 5.0 | 750.0 |
| 6 〃 6㎏区 | 2.0 | 4.0 | 8.0 | 5.0 | 750.0 |
| 7 〃 8㎏区 | 2.0 | 6.0 | 8.0 | 5.0 | 750.0 |
(3)試験成績
イ 生育及び収量調査
| 試験区別/項目 | 成熟期の生育調査 | 10a当収量(㎏) | 子実重 / 稈莢重 |
子実 1,000 粒重(g) |
収量 比率 (%) |
||||
| 草丈(㎝) | 分枝数(本) | 莢数(ケ) | 総重 | 稈莢重 | 子実重 | ||||
| 1 作条N 2㎏区 | 74.9 | 4.5 | 44 | 517 | 279 | 215 | 0.77 | 417 | 100 |
| 2 〃 4㎏区 | 76.1 | 4.7 | 48 | 582 | 325 | 246 | 0.75 | 420 | 114 |
| 3 〃 6㎏区 | 78.9 | 4.9 | 52 | 599 | 346 | 243 | 0.70 | 426 | 113 |
| 4 〃 8㎏区 | 78.3 | 5.1 | 52 | 619 | 366 | 235 | 0.64 | 421 | 109 |
| 5 全層N 4㎏区 | 80.8 | 4.8 | 51 | 541 | 303 | 232 | 0.76 | 426 | 108 |
| 6 〃 6㎏区 | 82.2 | 4.9 | 52 | 608 | 339 | 258 | 0.75 | 427 | 120 |
| 7 〃 8㎏区 | 78.1 | 4.7 | 53 | 615 | 352 | 247 | 0.70 | 429 | 115 |
作付期間中(5月~10月)の総降水量は468.3mm、総灌漑水量は180mmである。
一般に窒素施用量の多いものほど、葉色濃く、草丈の伸長及び分枝数の増加量共にまさり、且、着莢数も多い。又、全層系列の方が作条系列よりも開花期以降の生育は良好である。
作条~2㎏区(標準区)の子実収量を100とすると作条系列では4㎏区が114、6㎏区113、8㎏区が109であって作条4㎏区が最高収量を示し、一方、全層系列では4㎏区が108、6㎏区が120、8㎏区が115であって全層~6㎏区が最高収量を示し、量系列を比較すると全層~6㎏区がもっとも高く、無灌漑の場合に比べると窒素の適量が一段高い所にある用に思われる。
一方、子実1,000粒重も子実重とほど同様の傾向を示すが概して全層系列の方が作条系列より重い。
(3)要約
灌漑条件下における大豆に対する施肥法について調査した結果、
1)着莢数及び子実1,000粒重の増加を目的として、先ず窒素に重点を置き、次ぎに燐酸に重点を置くべきである。
2)施肥量としては窒素4~6㎏、燐酸10㎏、加里5㎏(何れも10アール当要素量)程度が適量と思われる。特に灌漑が充分な条件下では窒素の適量が1段高い所にある様に思われる。
3)又、窒素の施肥法としては作条施肥より帯状全層施肥の法が良好と考えられる。
G)消費水量と三要素の溶脱について
(1)試験方法
イ)試験の種類 1/700a ライシメーター試験
ロ)供試土壌 駒ヶ岳火山性土と発寒河沖積土
ハ)供試作物 燕麦、大豆
ニ)試験区別
| 試験区 (mm) | 供試土壌 | 1回の灌水量 (mm) |
間断 日数 |
| 1 火山砂 20区 | 火山砂轢土 | 20 | 5日 |
| 2 〃 40〃 | 〃 | 40 | 〃 |
| 3 沖積土 20区 | 植壌土 | 20 | 〃 |
| 4 火砂山 0区 | 火山砂轢土 | 無灌水 | 無栽培 |
ホ)施肥量
燕麦-窒素3g、燐酸4g、加里3g
大豆-窒素1.5g、燐酸3g、加里3g
ヘ)消費水量の測定
消費水量(土壌面蒸発量+葉面蒸発量)は供給量(降雨量+灌水量)から浸透水量を差し引いて求む。
ト)灌漑方法
①設備 消費水量測定には面積1.4m2、深さ50㎝のテイシメーターを用いた。
②灌水は所定量を如露にて撒水す。
③降雨があった場合の灌水量は次式より算出する。
| I=X-A(1- | B | |||
|
|
) | |||
| Y | ||||
| I:灌水量 | ||||
| X:基準灌水量 | ||||
| B:B日前にAmmの降雨があった場合 | ||||
| Y:間断日数 | ||||
イ 生育、収量及び養分吸収量
| 試験区別 | 成熟期の調査 | ライシメーター当収量(g) | 子実 収量比 (%) |
ライシメーター当 養分吸収量(mg) |
||||||
| 稈長(㎝) | 穂長(㎝) | 穂数(本) | 総重 | 茎幹重 | 子実重 | N | P2O5 | K2O | ||
| 1 火山砂 20区 | 82.9 | 23.4 | 54 | 161.8 | 96.2 | 53.8 | 100 | 2,302 | 711 | 2,311 |
| 2 〃 40〃 | 100.6 | 24.3 | 58 | 269.8 | 141.3 | 110.2 | 205 | 2,795 | 1,017 | 3,993 |
| 3 沖積土 20区 | 84.0 | 23.5 | 53 | 195.0 | 104.1 | 79.3 | 147 | 3,264 | 1,031 | 2,801 |
ロ 全期間の供給水量、浸透水量、消費水量
| 試験区別 | ∑R 降水量 (mm) |
∑L 灌水量 (mm) |
∑P 浸透水量 (mm) |
∑(R+I)-P 消費水量 (mm) |
∑(R+I)-P | 日数 (日) |
| day 日平均 (mm) |
||||||
| 1 火山砂 20区 | 259.0 | 153.1 | 40.0 | 372.1 | 5.31 | 70 |
| 2 〃 40区 | 259.0 | 391.3 | 105.8 | 544.5 | 7.77 | 70 |
| 3 沖積土 20区 | 259.0 | 153.1 | 19.9 | 392.2 | 5.60 | 70 |
| 4 火山砂 0区 | 259.0 | 0 | 145.8 | 113.2 | 1.61 | 70 |
ハ 時期別灌水量と浸透水量
| 時期 | 時期別灌水量(mm) | 時期別浸透水量(mm) | ||||||
| 灌水量 | 降水量 | 蒸発量 | 火山砂 20区 |
火山砂 40区 |
沖積土 20区 |
火山砂 0区 |
||
| 20区 | 40区 | |||||||
| 6月中旬 | 17.3 | 53.3 | 33.2 | 39.1 | 14.7 | 25.0 | 5.4 | 20.6 |
| 6月下旬 | 15.0 | 51.0 | 29.3 | 21.6 | 10.8 | 30.9 | 0.5 | 15.5 |
| 7月上旬 | 19.9 | 55.9 | 9.1 | 29.7 | 0.1 | 11.5 | 0.6 | 3.3 |
| 7月中旬 | 48.3 | 104.3 | 53.2 | 19.2 | 0 | 12.0 | 0 | 23.3 |
| 7月下旬 | 8.7 | 34.9 | 33.2 | 21.5 | 0 | 0.2 | 0 | 21.3 |
| 8月上旬 | 27.9 | 59.9 | 61.9 | 29.3 | 0 | 4.4 | 0 | 41.3 |
| 8月中旬 | 16.0 | 32.0 | 39.1 | 17.6 | 14.4 | 21.8 | 13.4 | 20.5 |
| 計 | 153.1 | 391.3 | 259.0 | 178.0 | 40.0 | 105.8 | 19.9 | 145.8 |
ニ 時期別消費水量と日消費水量
| 時期 | 日数(日) | 火山砂20区(mm) | 火山砂40区(mm) | 沖積土20区(mm) | 火山砂0区 | ||||
| 消費水量 | 日平均 | 消費水量 | 日平均 | 消費水量 | 日平均 | 消費水量 | 日平均 | ||
| 6月中旬 | 10 | 35.8 | 3.58 | 61.5 | 6.15 | 45.1 | 4.51 | 29.9 | 2.99 |
| 6月下旬 | 10 | 33.5 | 3.35 | 49.4 | 4.94 | 43.8 | 4.38 | 28.8 | 2.88 |
| 7月上旬 | 10 | 28.9 | 2.89 | 53.5 | 5.35 | 28.4 | 2.84 | 25.7 | 2.57 |
| 7月中旬 | 10 | 101.5 | 10.15 | 145.5 | 14.55 | 101.5 | 10.15 | 78.7 | 7.87 |
| 7月下旬 | 11 | 41.9 | 3.81 | 67.9 | 6.17 | 41.9 | 3.81 | 20.6 | 1.87 |
| 8月上旬 | 10 | 89.8 | 8.98 | 117.4 | 11.74 | 89.8 | 8.98 | 48.5 | 4.85 |
| 8月中旬 | 9 | 40.7 | 4.52 | 49.3 | 5.48 | 41.7 | 4.63 | 34.6 | 3.84 |
| 計 | 53.1 | 5.34 | 77.8 | 7.77 | 56.0 | 5.61 | 38.1 | 3.84 | |
ホ 三要素滲透溶脱量及び溶脱率
| 試験区別 | N | P2O5 | K2O | |||
| 溶脱量(mg) | 率(%) | 溶脱量(mg) | 率(%) | 溶脱量(mg) | 率(%) | |
| 1 火山砂20区 | 265.34 | 8.84 | 0.253 | 0.006 | 176.33 | 5.84 |
| 2 〃 40区 | 484.15 | 16.14 | 0.508 | 0.013 | 364.22 | 12.14 |
| 3 沖積土 20区 | 65.84 | 2.19 | 0.075 | 0.002 | 14.41 | 0.46 |
| 4 火山砂 0区 | 383.94 | 12.79 | 0.463 | 0.012 | 470.56 | 15.68 |
C摘要
1)燕麦の生育及び収量は火山砂40mm区<沖積土20mm>火山砂20mm区の順に良好である。
2)全期間の消費水量は火山砂20区は372mm、火山砂40区は545mm、沖積土20区392mmである。
3)日消費水量は各区共、7月中旬(出穂始)が最高を示し、火山砂20区は10.2mm、火山砂40区は14.6mm、火山砂0区は7.9mmであり、次いで8月上旬である。
4)生育全期間中の3要素の溶脱率はNが9~16%、P2O5が0.006~0.013%、K2Oが6~12%であり、N及びK2Oの溶脱量が多かった。
5)又、一緒に、消費水量の少ない生育の初期と成熟の後期に要素の溶脱割合が大きくなっている。
その2 大豆
A 耕種梗概
イ 供試品種 十勝長葉
ロ 播種法 6株(1本立)
ハ 播種期 5月18日
ニ 収穫期 10月10日
ホ 灌水時期 6月20日~9月30日
B 試験成績
イ 生育、収量及び養分吸収量
| 試験区別 | 成熟期の調査 | ラインメーター当収量(g) | 子実 収量比(%) |
ラインメーター当養分吸収量 | ||||||
| 草丈(㎝) | 分枝数(本) | 莢数(ケ) | 総重 | 稈莢重 | 子実重 | N | P2O5 | K2O | ||
| 1 火山砂20区 | 39.7 | 5.7 | 15 | 92.7 | 48.7 | 36.8 | 100 | 2974 | 842 | 1648 |
| 2 〃 40区 | 53.4 | 5.1 | 10 | 100.3 | 55.9 | 33.6 | 91 | 2660 | 811 | 1723 |
| 3 沖積土20区 | 64.5 | 6.5 | 23 | 158.6 | 99.0 | 46.2 | 126 | 3191 | 1186 | 2080 |
ロ 全期間の供給水量、浸透水量、消費水量
| 試験区別 | ∑R 降水量 (mm) |
∑L 灌水量 (mm) |
∑P 浸透水量 (mm) |
∑(R+I)-P 消費水量 (mm) |
∑(R+I)-P | 日数 (日) |
| day 日平均 (mm) |
||||||
| 1 火山砂 20区 | 458.3 | 96.7 | 166.6 | 388.4 | 3.46 | 112 |
| 2 〃 40区 | 458.3 | 328.0 | 262.7 | 523.6 | 4.67 | 112 |
| 3 沖積土 20区 | 458.3 | 96.7 | 15.7 | 539.3 | 4.81 | 112 |
| 4 火山砂 0区 | 458.3 | 0 | 284.5 | 173.8 | 1.55 | 112 |
ハ 時期別灌水量と浸透水量
| 時 期 | 時期別灌水量(mm) | 蒸発量 | 時期別浸透水量(mm) | |||||
| 灌水量 | 降水量 | 火山砂 20区 |
火山砂 40区 |
沖積土 20区 |
火山砂 0区 |
|||
| 20区 | 40区 | |||||||
| 6月下旬 | 9.5 | 19.5 | 63.5 | 33.3 | 54.9 | 53.5 | 29.3 | 61.2 |
| 7月上旬 | 13.4 | 31.4 | 27.0 | 27.9 | 17.5 | 18.2 | 5.3 | 18.5 |
| 7月中旬 | 3.5 | 13.5 | 30.2 | 25.7 | 6.3 | 10.2 | 0.1 | 15.4 |
| 7月下旬 | 8.2 | 28.2 | 49.3 | 31.0 | 0.6 | 1.3 | 0 | 4.4 |
| 8月上旬 | 10.2 | 36.8 | 30.7 | 25.1 | 4.3 | 4.4 | 0 | 28.1 |
| 8月中旬 | 7.8 | 44.4 | 74.0 | 15.2 | 0 | 3.5 | 0 | 18.8 |
| 8月下旬 | 7.5 | 27.5 | 60.4 | 14.1 | 33.2 | 48.2 | 4.1 | 54.9 |
| 9月上旬 | 0.6 | 29.5 | 39.9 | 15.5 | 13.2 | 26.4 | 0 | 36.8 |
| 9月中旬 | 20.9 | 44.9 | 43.6 | 14.5 | 23.6 | 32.6 | 0 | 33.8 |
| 9月下旬 | 15.1 | 40.8 | 17.5 | 9.1 | 10.6 | 44.7 | 0 | 6.3 |
| 10月上旬 | 0 | 11.5 | 22.2 | 8.1 | 2.4 | 19.7 | 0 | 6.3 |
| 計 | 96.7 | 328.0 | 458.3 | 219.5 | 166.6 | 262.7 | 38.8 | 284.5 |
ニ 時期別消費水量と日消費水量
| 時期 | 日数 | 火山砂20区 | 火山砂40区 | 沖積土20区 | 火山砂0区 | ||||
| 消費水量(mm) | 日平均(mm) | 消費水量(mm) | 日平均(mm) | 消費水量(mm) | 日平均(mm) | 消費水量(mm) | 日平均(mm) | ||
| 6月下旬 | 10 | 18.1 | 1.81 | 29.5 | 2.95 | 60.1 | 6.01 | 2.3 | 0.23 |
| 7月上旬 | 10 | 22.9 | 2.29 | 40.2 | 4.02 | 39.1 | 3.91 | 8.5 | 0.85 |
| 7月中旬 | 10 | 27.4 | 2.74 | 33.5 | 3.35 | 33.7 | 3.37 | 14.8 | 1.48 |
| 7月下旬 | 11 | 56.9 | 5.17 | 76.2 | 6.92 | 57.5 | 5.22 | 44.9 | 4.09 |
| 8月上旬 | 10 | 36.6 | 3.66 | 63.1 | 6.31 | 40.9 | 4.09 | 2.6 | 0.26 |
| 8月中旬 | 10 | 81.8 | 8.18 | 114.9 | 11.49 | 81.8 | 8.18 | 55.2 | 5.52 |
| 8月下旬 | 11 | 34.7 | 3.15 | 39.7 | 3.61 | 67.9 | 6.17 | 5.5 | 0.50 |
| 9月上旬 | 10 | 27.3 | 2.73 | 43.0 | 4.30 | 40.5 | 4.05 | 3.1 | 0.31 |
| 9月中旬 | 10 | 40.9 | 4.09 | 55.9 | 5.59 | 63.0 | 6.30 | 9.8 | 0.98 |
| 9月下旬 | 10 | 22.0 | 2.20 | 13.6 | 1.36 | 32.6 | 3.26 | 11.2 | 1.12 |
| 10月上旬 | 10 | 19.8 | 1.98 | 14.0 | 1.40 | 22.2 | 2.22 | 15.9 | 1.59 |
| 計 | 3.46 | 4.67 | 4.81 | 1.55 | |||||
ホ 三要素滲透溶脱量及び溶脱率
| 試験区別 | N | P2O5 | K2O | |||
| 溶脱量(mg) | 同率(%) | 溶脱量(mg) | 同率(%) | 溶脱量(mg) | 同率(%) | |
| 1 火山砂20区 | 57.13 | 3.81 | 2.460 | 0.082 | 90.10 | 3.00 |
| 2 〃 40区 | 110.96 | 7.39 | 3.366 | 0.112 | 112.38 | 3.74 |
| 3 沖積土20区 | 13.15 | 0.87 | 0.320 | 0.07 | 1.77 | 0.06 |
C 摘要
1)大豆の生育及び収量は沖積土20mm区>火山砂20mm区>kざん砂40mm区の順に良好である。
2)全期間の消費水量は火山砂20区は388mm、火山砂40区は524mm、沖積土20区は539mmであり、無植生、無灌水区の火山砂0区の消費水量は174mmである。
3)日消費水量は各区共、8月中旬(開花期)が最高を示し、火山砂20区は8.18mm、火山砂40区は11.5mm、火山砂0区は5.5mmであり、次いで7月下旬である。
4)生育全期間の3要素の溶脱率はNが4~7%、P2O5が0.08~0.11%、K2Oが3~4%であり、N及びK2Oの溶脱量が多い。
5)大豆も又、燕麦と同様に、消費水量の少ない生育の初期と成熟の後期には要素の溶脱割合が大きい。
〔Ⅵ〕総括
昭和36年~39年の4ヶ年間に亘り、駒ヶ岳火山灰地帯に於ける畑地灌漑に伴う施肥法並びに灌漑の効率増進法について調査した結果、次の様な結論を得た。
1)駒ヶ岳火山灰地に於ける畑作物の生育期間中(5月~9月)の降水量は520mm前後であり、7日以上の連続旱天は平均5~6回の割合で起こる。
2)各土層別有効水分量は17~19mm前後であるが、本土壌の有効水分量としてはPF2.0~3.0の間に重点を置く方が妥当と思われ、有効土層中の水分保有量は30mm程度である。
3)本地帯の下層(地表下30㎝)の土壌水分は降水量により殆ど影響されぬが、表層(地表下10、20㎝)の水分含量はその影響が極めて大きく、且、水分消費量も作物根域全体の80%以上に達する。又、夏季の蒸発散量は1日5mm前後である。
4)燕麦では窒素の肥効が、馬鈴薯及び大豆では窒素と加里の肥効が強く現れ、灌漑によって各作物共、燐酸の肥効はやや軽減されるが、窒素の肥効は極めて顕著である。
5)馬鈴薯に対する施肥法としては窒素に重点を置き、窒素12㎏、燐酸15㎏、加里10㎏(アール当要素量堆肥1.8トン施用条件で)前後が適量と思われ灌水量の増加に伴って窒素の肥効が極めて顕著である。
6)燕麦に対する効果的な灌漑時期は作物生育過程の面よりみて出穂始、大豆は開花始~開花期頃であり、燕麦と馬鈴薯は灌水時期による処理の差は少ないが、大豆の場合は処理の差が極めて大きい。
7)降雨分布の状況によって多少異なるが、年次別の降水量、灌漑水量と生育、収量の両面よりみて、燕麦の生育期間中の供給水量(降雨量+灌漑水量)としては600~670mm、馬鈴薯は600~670mm、大豆は630~700mm前後が適量と思われ、従って灌漑総水量としては3作物共に100~150mm程度、1回の灌水量として15mm程度が妥当と考えられる。
8)土壌有効水分量と灌漑開始時期との関係については、馬鈴薯及び大豆共に根群域の土壌中の有効水分(PF2.0~3.0)の50%程度が消費された時に灌漑を始めるのが実用的である。
9)灌漑によって土壌中の燐酸が可給化される利点はあるが、地力の消耗と塩基類の溶脱が大きいので客土及び有機物の施用を併行すべきである。
10)灌漑条件下における大豆に対する施肥法としては先ず窒素に重点を置き、次ぎに燐酸に重点を置いて、窒素4~6㎏、燐酸10㎏、加里5㎏(10アール当要素量として)程度が適量と思われる。又、窒素の施肥法としては作条施肥より帯状全層施肥のの方が良好である。
11)時期別消費水量としては、燕麦では7月中旬(出穂始)、大豆では8月中旬(開花期)が最高であり、日消費水量としては8~12mmである。
12)生育全期間中の三要素の溶脱率は、燕麦では窒素が9~16%、加里が6~12%、大豆では窒素が4~7%、加里が3~4%であり、燐酸の溶脱率は量作物量が一層増加する。
又、消費水量の少ない生育の初期と登塾の後期には要素の溶脱割合が大きくなっている。
〔参考資料〕
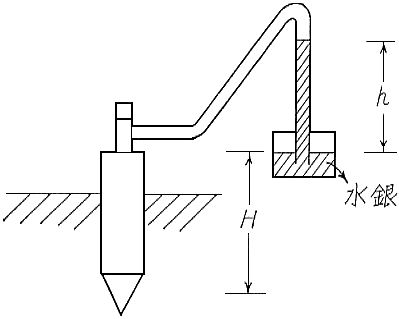
土壌水分測定法
畑地灌漑に於ける水利用の基礎は土壌水分の把握にあり、そのためには、畑地の土壌水分の変化を連続的に追跡する必要がある。
同一地点の土壌水分を連続的に、且、簡便に測定する方法として電気抵抗法(電気抵抗-水分)、テンションメーター法(毛管負圧-水分)等が多く使用されている。
本試験で使用したテンションメーター(大起製)によれば一度、毛管負圧と土壌水分量との関係曲線を作製しておけば、爾後、毛管負圧の値より土壌水分量を知る事が出来る。
![]() |
F=12.6n-H 但し、F:毛管負圧(㎝) n:水銀柱の高さ(㎝) H:水銀消とカップの鉛直距離(㎝) PF値に表示するには PF:=logF |