【普及奨励事項】
|
プラスチックはつ土板プラウに関する試験成績 道立十勝農業試験場農業機械科 〃 中央 〃 農業機械部 |
・ 目的
はつ土板プラウの土壌付着を解消するため、プラスチックはつ土板を用いたプラスチックのプラウ性能および磨粍に関する実用化試験
・ 試験方法
土壌付着の大いなる火山灰土壌におけるプラウの性能を従来の鉄製プラウと比較する。(反転・付着・けん引抵抗)また磨粍性については、定置回転磨粍試験機、および現地利用試験調査における重量、厚さ測定による。
・ 試験結果の概要
1. 供試プラスチックはつ土板への土壌付着は、皆無に近い(表1)
2. そのため反転を常時均一に良好になし得る。
3. 作業能率は20%程度向上せしめた。
4. けん引力は15%程度減少する。
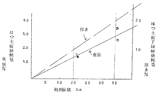
5. 磨粍は、利用条件によっても異なるが、7mm板であれば1板のはつ土板で50〜150haは、可能である。(図1)
・ 主要成果の具体的データー
表1. はつ土板比較試験(十勝農試)
| 日 付 |
項 目/ 番 号 |
作業 速度 (m/s) |
トラクター エンジン 回転低下率 (%) |
駆動輪 スリップ率 (%) |
耕深 (cm) |
耕巾 (cm) |
耕起 断面積 (cm2) |
第1ボトム付着土 | ||
| シエアー | ポー | |||||||||
| 9/ 27 日 |
1 (ポルカ) |
A | 0.98 | (4)10.0 | 41.1 | 20.9 | 74.6 | 1.5610 | 190 (44.9) |
103 (41.4) |
| B | 1.57 | 8.0 | 20.6 | 20.3 | 74.0 | 1.5050 | ||||
| 2 (ポルカ) |
A | 2.04 | (5)13.6 | 30.7 | 18.4 | 72.4 | 1.3310 | 97 (37.1) |
30 (35.9) |
|
| B | 2.05 | − | 16.1 | 19.1 | 73.6 | 1.4050 | ||||
| 3 (格子) |
A | 1.23 | (4)72 | 26.3 | 21.1 | 72.6 | 1.5320 | 6.643 (61.9) |
||
| B | 1.45 | 10.6 | 19.9 | 19.6 | 71.2 | 1.3960 | ||||
| 4 (格子) |
A | 1.76 | (5)19.3 | 24.8 | 17.7 | 80.0 | 1.4300 | 2.348 (68.7) |
||
| B | 1.98 | 16.7 | 19.2 | 16.5 | 80.8 | 1.3350 | ||||
| 5 (普通) |
A | 1.17 | (4)6.6 | 36.9 | 15.6 | 75.2 | 1.1720 | 8.055 (35.6) |
||
| B | 1.47 | 6.3 | 21.1 | 14.4 | 73.0 | 1.0510 | ||||
| 6 (普通) |
A | 1.45 | (5)17.6 | 38.7 | 19.6 | 72.8 | 1.4250 | 6.673 (38.2) |
||
| B | 1.72 | 17.8 | 37.3 | 19.1 | 74.2 | 1.4150 | ||||
・ 奨励上の注意事項
れきのない(障害物を含める)土壌付着の大いなる火山灰地の耕起に適する。