【指導参考事項】
|
1. 課題の分類 収穫(機械) 2. 研究課題名 パドプラッカ(定置式枝豆用莢とり機)開発試験 3. 期 間 (昭47〜49) 4. 担 当 十勝農試農業機械部 5. 予算区分 総合助成 6. 協力分担 中央農試農業機械部 |
7. 目 的
生鮮畑作物の機械収穫を試みる中で、とくに枝豆に対する機械作業の適応化向上について検討する。
8. 試験方法
1) 期 日 昭和48年9月11.12日
2) 場 所 芽室町東中伏古
3) 供試機 定置型ポッドプラッカ(TPP-73)
4) 供試材料 大豆(トヨスズ)
5) 調査項目 損失量、莢内莢雑物混入量、作業能率、所要動力
9. 結果の概要・要約
1) 定置枝豆用莢取り機(ポッドプラッカTPP-73)を試作し、種々検討を行った結果ほぼ良好な性能を得た。
2) 損失量の増減は莢と茎葉を選別するための風速に関係がある。風速6〜7m/s間では総損失が10%であった。また、この時の精莢雑物混入割合は茎葉が7%弱、枝が5%前後認められた。さらに損傷莢、裸粒の発生は極く少量であった。
3) ピッキングドラム回転数200rpm時の無負荷動力は1.6psで、負荷時動力は供給量とほぼ比例関係が認められ、通常利用時供給量16kg/minでは3.2psであった。
4) 刈取りはビ−ンハ−ベスタ、運搬をバックレ−キで1名、機械えの供給2名、機械調整、製品運搬1名、計4名の組作業で3.8haを363時間要し、能率は1.0〜1.1a/hであった。
10. 主要成果の具体的数字
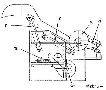
![]() |
A. 供給部(供給コンベア) B. ピッキングドラム C. 搬送コンベア D. 選別部 E. 横送りコンベア F. 排出コンベア G. 選別用ファン |
| 項 目 | 寸 法 | ||
| 型 式 | TPP-73 | ||
| 作業方式 | 定置式 | ||
| 駆動方式 | モ−タ、エンジン、トラクタPTO いずれも可 |
||
| 主 要 諸 元 |
全 長 | 2720 | |
| 全 巾 | 作業時2950、格納時2300 | ||
| 全 高 | 2040 | ||
| 総重量 | 890kg | ||
| 供給方法 | 人手→チェ−ン | ||
| 莢取方法 | スプリングタイン(ゴムコ−ティング) | ||
| ドラム回転数 | 200〜300rpm | ||
| 選別方法 | 風速(ダンパ−開度調整) | ||
| 莢搬送方法 | コンベア | ||
| 品 種 | 草丈 (cm) |
最下着 莢位置 (cm) |
1本当り 莢数 |
莢内の粒数割合 (%) |
莢収量 (kg/10a) |
|||
| 1粒 | 2粒 | 3粒 | その他 | |||||
| 大豆 (トヨスズ) |
88.1 | 7.1 | 34.5 | 15.8 | 57.7 | 25.0 | 1.5 | 746.2 |
| テストNO. | P.ドラム rpm |
供給 速度 (m/s) |
ファン rpm |
空気 流入 開度 |
供給量 (kg/s) |
各部損失率(%) | 総損失率 (%) |
精莢内 葉混入度 |
|
| 選別口 | 残莢 | ||||||||
| 1 | 200 | 0.32 | 710 | B | 0.27 | 6.7 | 9.6 | 16.3 | 極少 |
| 2 | 200 | 0.32 | 710 | C | 0.48 | 11.8 | 6.2 | 18.0 | 少 |
| 3 | 200 | 0.32 | 710 | D | − | 21.4 | 5.6 | 27.0 | 少 |
| 4 | 200 | 0.32 | 710 | A | 0.29 | 1.8 | 8.8 | 10.6 | 多 |
| 5 | 200 | 0.44 | 710 | B | 0.28 | 8.6 | 8.5 | 17.1 | 多 |
| 6 | 292 | 0.59 | 1070 | B | 0.47 | − | − | − | 少 |
| 7 | 292 | 0.59 | 1070 | A | 0.67 | 16.3 | 11.1 | 27.4 | 多 |
| 8 | 200 | 0.32 | 710 | B' | 0.31 | 7.3 | 10.2 | 17.7 | 少 |
| 9 | 200 | 0.32 | 710 | B' | 0.27 | 13.4 | 12.2 | 25.6 | 少 |
| 10 | 200 | 0.32 | 710 | C | 0.28 | 8.0 | 21.0 | 29.0 | 少 |
| 開度 A B B' C D 空気流入断面積cm2 542.3 1710.7 1900.4 2095.1 2560.3 |

図2. 選別部風速と総損失および莢雑物

図3. 負荷時動力
表4. 作業能率
| 処理区分 | 作業期間 | 作業人数 | 処理面積 (ha) |
生産量 (kg) |
実作業時間 | 作業能率 (a/h) |
備考 | ||||
| 刈取 | 運搬 | 脱莢 | 搬出 | 合計 | |||||||
| A | 5日間 | 4人 | 1.4 | 8.670 | 12.5 | 50.0 | 50.0 | 10.0 | 122.5 | 1.14 | 損失やや多 |
| B | 3日間 | 4人 | 1.0 | 7.140 | 8.5 | 42.5 | 42.5 | 10.0 | 103.5 | 0.97 | 茎葉混入、損失少 |
| C | 4日間 | 4人 | 1.4 | 9.942 | 8.5 | 57.5 | 57.5 | 14.0 | 137.5 | 1.02 | 損失極少 |
11. 今後の問題点
1) 人手による供給を軽減させるため、自動化によって供給速度を高める
2) 選別部を拡張し、処理能力の増加をはかる
12. 次年度の計画(成果の取扱い)
1) 本型式で圃場走行を可能とする。
2) 刈取機を装着し、ワン行程の収穫法について検討を行う。