【指導参考事項】
| 1.課題の分類 2.研究課題名 水田除草剤の処理条件と薬害に関する試験及び調査 (フェノキシ系除草剤MCPB) 3.期 間 (昭51〜52年) 4.担 当 上川農試水稲栽培科 5.予算区分 6.協力分担 |
7.目 的
フェノキシ系除草剤の薬害発生の諸条件を明らかにして安全使用上の資に供する。
8.試験方法
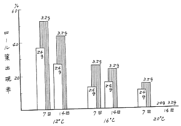
昭51)1/5000aポット、無漏水、1株1本植3株/ポット移植、処理時の葉令4.5,5.5,6.5,7.5葉、処理量(成分)2.4,3.2g/a
温度:人工気象箱 昼夜温 12,16,20℃、期間7,14日間。一反復
昭52)葉令3.5,4.0,4.5,5.0,5.5葉、処理量(成分)1.8,2.4,3.0,3.6g/a
温度:人工気象箱 昼夜温 12,15,18℃ 期間7日間。その他は51年に準ずる。
薬害はロール葉(筒状葉)の発生程度で示した。
9.結果の概要・要約
1.MCPBによるロール葉の発生は散布量、温度、水稲の葉令と関連する。
2.散布量は多いほどロール葉の発生多く、散布量増は薬害大となる。
3.温度は15〜16℃以上で成分2.4g/aの場合ロール葉の発生は少ない。
4.葉令は5.0〜5.5葉以上ではロール葉発生少なく安全とみられる。特に5.5葉以上で発生しない。
5.葉令5.5葉に到達するに必要な移植後日数は平年で稚苗(2.0葉)25日、中苗(3.0葉)20日と考えられる。
10.主要成果の具体的数字

図 処理量、温度、日数によるロール葉出現率(4.5葉)(昭51)

図 処理時の葉数と温度との関係(昭52)
12.次年度計画