【指導参考事項】 トマト:生理障害
道立道南農試
ハウストマトの不良果発生防止試験
(1)スジグサレ果発生防止試験
期 間 昭和52(48〜52)年 予算区分 道単 協力・分担 なし
1.担 当 作物料 塩澤耕二 山崎健
2.目 的 ハウストマトに多発するスジグサレ果の発生防止対策をたてる。
3.試験方法 スジグサレ果発生に関与すると思われる環境要因をとりあげ組み合せ処理を行なった。
(1)土壌水分:少→中、中→中、中→多、多→多水分(少、中、多水分は各pF2.6、2.3、2.0で灌水、灌水点変換時期は定植30日後
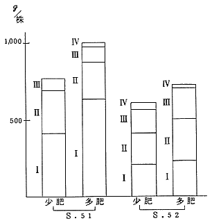
(2)N肥料:施用量(中肥4kg/a,多肥6kg/a)、元肥量(少肥1kg/a,多肥3kg/a)、追肥量(少肥1kg/a、多肥3kg/a)
(3)K肥料:施用量(多肥6kg/a,中肥4kg/a)
(4)施肥方法:元肥重点、追肥重点、(N、Kのみ)など。
また品種比較も実施した。
4.結果および考察
(1)スジグサレ果は褐変型と白変型が発生、前者は下位果房に後者は上位果房に多かった。
(2)土壌水分の影響は他の要因にくらべ大きく表われた。年次間に若干の差はあるが、スジグサレ果発生量、発生割合は少水分区が少なく多水分区か多くなる傾向があった。特に生育初期(定植後30日間)の土壌水分を抑える(灌水点pF2.6)ことでスジグサレ果の発生が減少し正常果収量、正常果率が増加した。
(3)N施用量では多肥区にスジグサレ果が多く中肥区で正常果が多かった。元肥量では多肥区の下位果房にスジグサレ果が多かった。また追肥量では多肥区で多く発生し、この影響は第2果房以上で大きかった。
(4)施肥方法では追肥重点区に多く発生した。
(5)スジグサレ果発生と生育量、粗収量などとの相関関係をみると、生育量との関係では、茎径、茎重、と正の相関があり、樹勢の強さがスジグサレ果の発生と結びついた。なお定植後30日の茎径ですでに正の相関があり、初期生育がスジグサレ果発生に強く影響するものと考えられた。一方粗収量とも正の相関があるが、正常果収量との間には負の相関があり、スジグサレ果発生の増加が正常果減収の原因となった。
(6)品種間では、栄寿、高千穂、強力旭光、がスジグサレ果を発生し難い品種であることが認められた。
5.主要な試験データ

図1 土壌水分と褐変型スジグサレ果発生量(S,52)

図2 N元肥量褐変型スジグサレ果発生量(S51,52)
表1 数種形質とスジグサレ果発生との相関係数
| 年度 | 昭和51年 (N=36) | 昭和52年 (N=32) | ||||||||||
| 形質 /項目 |
粗収量 | 正常果 収量 |
平均 一果重 |
茎径(第2花房下) | 粗収量 | 茎径(第2花房下) | 茎径b | 茎重c | ||||
| 30日a | 60日a | 終了時a | 30日 | 60日 | 終了時 | 終了時 | ||||||
| スジグ サレ 果率 |
* 0.410 |
** -0.471 |
0.241 | ** 0.621 |
* 0.375 |
* 0.391 |
** 0.521 |
** 0.730 |
** 0.661 |
** 0.682 |
** 0.514 |
** 0.764 |
| スジグ サレ果 重量 |
** 0.654 |
-0.247 | 0.06 | 0.08 | * 0.405 |
* 0.475 |
** 0.603 |
** 0.729 |
** 0.662 |
** 0.662 |
** 0.483 |
** 0.777 |
6.今後の問題点
体内の栄養生理的な面からの検討
7.次年度の計画