【指導参考事項】
|
1.課題の分類 中央根釧農試 経営方式 労働手段 畑作 2.研究課題名 羊蹄山麓における麦用収穫機の経営的評価 3.研究期間 昭和49〜53年 4.担 当 中央農試経営部、根釧農試 5.予算区分 道費 6.協力分担 なし |
7.目 的
技術あるいは技術体系の個別経営の導入は経済原則による評価が普及効果を高める。ここでは羊蹄山麓(真狩村)の畑作経営における麦用収穫機を対象にその導入効果、経済性により技術採用のための課題を明らかにする。
8.試験研究方法
1 技術評価の視点は、麦用収穫機の経済性を代替技術の比較で評価し、その採用がもたらす経営組織の変化(作付構成、労働力利用)を収益性視点により評価した。
2 分析は試算計画法を採用し、調査対象は真狩村の畑作経営である。
9.結果の概要
1)調査対象とした経営は耕地面積が約20haで真狩村では上層に位置する。作付構成は45〜46年の馬れいしょ、てん菜が約80%の根菜偏作から、48年頃より小豆、秋まき小麦が増加、現状ではばれいしょ40〜50%、てん菜20%、小麦20〜25%となっている。
2)真狩では麦用収穫機(けん引型コンバイン)を50年に4台導入、共同利用組織により運営、利用面積は約20haと基準に達しているが、秋まき小麦の作付増加と他の代替作業技術の普及があり利用戸数は減少している。
3)作業機の費用比較では自脱型タイプ8.1ha利用とコンバイン20.3ha稼動で均衝点があり、現状の利用を前提とするならコンバインの利用が有利となる。
4)家族労働力利用は機械化による省力化と秋まき小麦の増加によりピーク時の労働時間が減少平準化している。また労働繁期の形式はアスパラ及び食用馬れいしょと収益性の高い作物の収穫時期へと転化している。
5) 秋まき小麦の作向は試算によると収益性の高い作付構成を形成しうる。他の作物との関連では前後作の関係から、でん原ばれいしょとともに増加し小豆・食用ばれいしょとは代替する。
現状での秋まき小麦の作付増加とともにばれいしょの食用への移行は前後作の制約により小麦の連作要因となり、またばれいしょの作付比率は減少したが連作形態が残っていることも関連し課題となる。
10.主要成果の具体的数字

①作業機の利用経費直線は固定経費−利用面×変動費
②作業機の利用限界面積は収穫作業期間(8月上旬〜中旬15日間)のうち実作業10.5日、1日8時間利用として作業能率により計算
コンバインハーベスタ 22.7ha
自脱型 (4条用) 14.7ha
〃 (2条用) 8.1ha
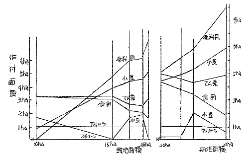
現地規模作付構成 (試算)
(1)労働力 2人 (2)労働力 3人
(但し、アスパラ収穫時期 2.5人)

11.今後の問題点
小麦の導入による作助方式の形成について輪作形成を意図する上層農家に限定し検討した。羊蹄山における畑作経営の秋まき小麦の経営的特性の把握は不充分である。