【指導参考事項】
| 1.課題の分類 牧草 土肥・飼作 北農試 2.研究課題名 アルファルファノーキュライド種子の保蔵温度と根粒菌の消長 3.期 間 昭54 4.担 当 北農試草開1部草地3研 片岡健治 原槙 紀 5.予算区分 経常 6.協力分担 十勝農協連農産化学研究所 |
7.目 的
ノーキーライド種子の保蔵温度が根粒菌の消長および根粒着生に与える影響を知ろうとする。
8.試験方法
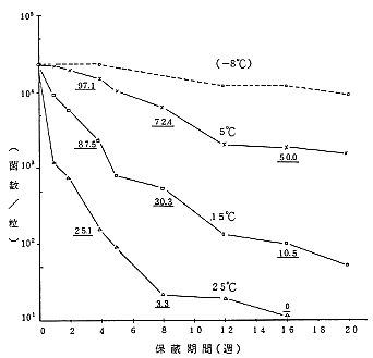
処理;5℃、15℃、25℃ならびに参考として−8(±1)℃の恒温器(室)に保蔵。
菌数測定;一定粒数の種子を水添加即時磨砕、定容、希釈、培養。
根粒着生調査;a/5,000ポット、褐色火山性土。3、8、16週間保蔵の種子について45〜70日栽培。
9.試験結果概要
(1)種子1粒あたりの生菌数の消長は、図に示すようにいずれも経時的に減少するが、保蔵温度が高いほど減少度合が大きく、たとえば約1ケ月後では5℃に比べて15℃が10倍、25℃では100倍の速度で減少していた。−8(±1)℃では数ケ月後でも104を保持するとみられた。
(2)ポット栽培による根粒着生個体率(%)は図に示すように、生菌数の消長にほぼ符合する傾向を示した。実用的な着生率を1番草段階で最低30%とすると、本試験における有効期限は、5℃で20週程度、15℃で8週、25℃で3週未満と判断された。
10.主要成果の具体的数字

図、菌数と根粒着生の経時的推移
注)図中の3、8、16週の数値は根粒着生個体率(%)を示す。
11.今後の問題点
保蔵温度に関する実態調査
12.成果の取扱い
ノーキュライド種子の使用に際しては当面次の点に留意する。
1.なるべく春早い時期に播種する。
2.種子入手後ただちに播種するか、冷蔵庫等に保管する。
3.播種に際しては、土壌乾燥+高温期をさける。
4.盛夏以降の使用は避けるか、あらためて菌を接種する。