【指導参考事項】
|
中苗機械移植水稲の施肥法に関する試験 (昭和53〜56年) 上川農試土壌肥料科 |
目的
水稲機械移植栽培の大半を占める中苗水稲について、その生理生態的特性を成苗、稚苗水稲と比較検討するとともに、そのN基肥反応やN追肥効果を成苗水稲と対比し、良質米安定生産のための施肥改善の資とする。
試験方法
1.試験地および土壌;上川農試ほ場、褐色低地土
2.供試品種;「イシカリ」
3.育苗様式と苗質および本田栽培条件;
| 播 種 量 | 育苗日数 | 葉 令 | 本田の栽植密度 | 1株植本数 | |
| 稚苗 | 350mL/箱 | 25日 | 2.5葉 | 30×12㎝(27.8株/㎡) | 5本 |
| 中苗 | 200mL/箱 | 35日 | 3.5 | 5本 | |
| 成苗 | 350mL/㎡ | 30日 | 3.5〜4.0 | 2本 |
4.試験処理区別;
A試験(生理生態的特性の比較) 稚苗、中苗、成苗各標準栽培(N O.8㎏/a)
B試験(中苗水稲のN施肥反応) 苗質2(中苗・成苗)×N基肥5(0.6 0.8 1.0
1.2 1.4㎏/a)および追肥(幼形期・止葉期、基0.8+0.4、基1.0+0.2)
試験成果の概要
1.中苗水稲は茎数推移からみれば稚苗型で、有効茎終止期も成苗水稲より4〜6日早く、有効茎歩合、1穂籾数なども稚苗により近いが、幼形期・出穂期の遅れは成苗より1日程度で成苗型とみられた。
2.初期の乾物生産は旺盛で成苗水稲を上回り稚苗型に近いが、著しい低温年においても稚苗初期生育より安定性があった。幼形期〜止葉期の間の乾物生産、N吸収の停滞は稚苗ほど大でなく、止葉期以降の乾物生産、N吸収は成苗水稲に近い様相を示した。
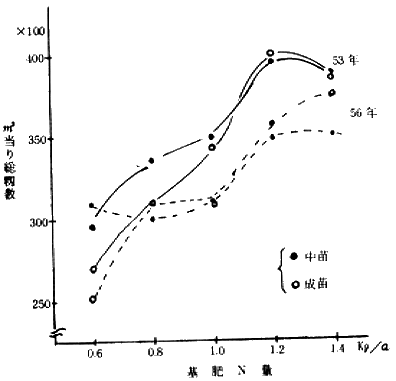
3.基肥N増施による茎数、1穂籾数や総籾数増大などの変動は、成苗より中苗の方が大きい傾向があり不安定性が大きいが、両水稲とも玄米収量はN 1.0Kgでほぼ頭打ちの傾向である。
4.しかし中苗は成苗よりLAIが大で、相対照度や耐倒伏性などの低下がN 1.0㎏を境にして生じやすい。
5.以上の結果から、中苗水稲においては稚苗水稲に対してとられたような基肥N増施は危険性が大であり、成苗水稲と同様に基準施肥量で十分である。
6.中苗水稲に対するN追肥効果は成苗水稲と同様な傾向を示し、収量は基肥0.8㎏+追肥0.4㎏あるいは1.O㎏+追肥0.2㎏区が基肥1.O㎏を上回り、とくに幼形期の増収効果が大であった。しかし幼形期追肥や基肥1.O㎏に対する0.2㎏追肥は年次変動があり、奪熟歩合や青米増加の面で不安定性が増大した。
7.出穂期葉身N濃度上昇による籾数増大や登熟歩合低下がみられたが、止葉期追肥はより高いN濃度で登熟歩合低下の危険性が少なかった。
8.しかし米質などに対する安全性からみると止葉期の0.4㎏追肥は危険性があるので、実際的な施肥法としては基準施肥量より少な目の基肥に対して0.2㎏程度の止葉期追肥が安定生産のために有利であるとみられた。
主要成果の具体的データ
各期節までの乾物生産・N吸収割合(高温年・低温年を除く54.55年の0.8㎏区平均)
| 苗質・項目 | 乾物生産量 | N吸収量 | ||||||||
| 分けつ期 | 幼形期 | 止葉期 | 出穂期 | 成熟期 実数 |
分けつ期 | 幼形期 | 止葉期 | 出穂期 | 成熟期 実数 |
|
| 稚 苗 | 2.6% | 14.0% | 37.2% | 60.6% | 1216g㎡ | 14.6% | 52.4% | 67.0% | 80.6% | 10.3g㎡ |
| 中 苗 | 2.6 | 11.9 | 30.6 | 53.1 | 1230 | 14.4 | 44.2 | 56.7 | 74.0 | 10.4 |
| 成 苗 | 1.9 | 7.9 | 30.7 | 52.1 | 1226 | 11.2 | 34.6 | 69.2 | 73.8 | 10.7 |

図1 基肥N量と玄米収量

図2 基肥N量と総籾数
![]() |
![]() |
| 凡 例 |
▲ 基肥 1.0㎏区 △ 基肥 0.8㎏区 ● 基肥 0.8㎏追肥0.4 ○ 基肥 1.0㎏追肥0.2 |
指導上の注意事項
1.良質米安定生産は総籾数を3.5万/㎡以下におさえ、登熟歩合を80%以上に高める必要があり、そのためにはN施肥について基準施肥量を越えないことが重要である。
2.中苗水稲は稚苗水稲より気象変動に対して安定的であるが、それだけに苗質保持に留意する。
3.グライ土や排水不良田に対する止葉期N追肥効果は、既往の成績からみて排水良好田よりも小さいと考えられるので、一層、過剰施肥を避け、追肥よりもほ場基盤整備を重視すべきである。