【指導参考事項】
|
1.課題の分類 C 5−(6) 収 穫 牧 草 2.研究課題名 普通形こん包(タイトベール)のハンドリング用機械に関する試験 2.ベールスローワの性能 3.期 間 昭和56年度(53〜58) 4.担 当 北海道農試 機械化第1研 5.予算区分 経 常 6.協力,分担関係 な し |
7.研究目的
ベールスローワにはベルト式とはね上げ式の二つの形式があり、はね上げ式の性能調査は昭和42〜43年度の北農試成績に報告されている。またこん包をトレーラに人が上乗りして整形積みするかはら積みするかによっても組人員が異なる。ベルト式ベールスローワでばら積み作業を行っている新冠種畜牧場の作業性能調査を行った。
8.試験研究方法
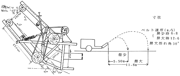
(1)供試機械〔1〕トラクタフォード6600、ヘイベーラNHS69、ベールスローワNH53-A、けん引用ワゴン21.0m3(4.10×2.09×2.45m)、〔Ⅱ〕トラクタインタ434、ヘイベーラNH273、ベールスローワNH53-A、けん引用ワゴン28.2m3(5.50×2.09×2.45m)、ベールスローワ装着時の寸法は図1に示す。
(2)ベールスローワ NH53-A形の諸元は図2の通り。
(3)試験期日と場所 昭和56年7月31日 新冠種畜牧場。
(4)材料とベール寸法 オーチャードグラス主体の1番草、ベールは表1のように1個重が11.3〜11.9kg、長さ73〜82cmの小形である。これはヘイエレベータを用いてキング式牛舎の二階へ収納するためである(人力作業を配慮してある)。
(5)調査項目 ベールスローワの放出特性ならびに〔Ⅰ〕と〔Ⅱ〕組についてベールスローワ体系の能率調査(図/参照)。
(6)作業方法 ベールスローワを装着したベーラがワゴンをけん引してウインドロウ3〜4列置きに回り作業、ワゴンが満載すると別のトラクタで1.4km離れた畜舎まで運搬、ワゴンは2〜3台稼動、畜舎では7人の組作業で荷降ろしと収納する。作業速度はⅠが0.50〜0.71m/s、Ⅱが1.33m/sで行った。
9.結果の概要・要約:
(1)この体系はキング式牛舎などの二階に乾草こん包を収納するための体系で、こん包は人力扱いしゃすいように11〜12kgと軽く小形にしてある。
(2)ベールスローワの構造と性能は図2のように最大ベルト速度は12.6m/sである。
(3)ベーラの作業速度はウインドロウの草量によって規制される。ワゴンは中形と大形の二種類が準備されているが、大形ほど運搬回数が少なくてよく有利である。
(4)ワゴンは運搬距離によって2〜3台準備し、ベーラ作業が中断しないように配置されてトラクタに付けかえて運搬する。荷降ろしはサイドの戸びらを開き、3人でヘイエレベータに人力で供給しながら行うが、牛舎の二階にはベールを積変えるため4人の作業者が配置されている(この点は容易に改善できるであろう)。
(5)作業能率は荷降ろしを含めると乾草t当り0.29〜0.37hであるが、実際はこん包積載作業の連続と見ると乾草t当り0.29〜0.37hであるが、これはベーラ作業を含めての作業能率であるから高い能力を持つ作業体系と見られる。
(6)以上要するに、ベールスローワによるこん包はら積み体系は、大形ほ場に適する省力的な作業方式であるが、荷降ろしから収納までの作業法にまだ改善の余地あり。
10.主要成果の具体的数字

図1 ベールスローワ、ワゴン装着時の寸法

図2 ベールスローワの構造と性能
表1 供試ベールの大きさと数量
| No. | 大きさ(mm) | こん包放出(m) | ha当り乾草量 | ||||||||
| 高さ | 幅 | 長さ | 重量 (kg) |
体積 (m3) |
密度 (kg/m3) |
含水率 (%) |
間隔 | 条間 | 個数(個) | 重量(t) | |
| Ⅰ | 360 | 470 | 732 | 11.9 | 0.142 | 96.0 | 15.4 | 4.32 | 4.10 | 565 | 6.72 |
| Ⅱ | 360 | 470 | 815 | 11.3 | 0.138 | 81.9 | 15.4 | 6.75 | 3.35 | 442 | 5.00 |
表2 1台当り作業時間の内訳(ワゴン1台のサイクルタイムはⅡで31′25″)
| No. | 積載量(1台) | 積載時間(分・秒) | 移動・荷降ろし時間(分秒) | 備考 | ||||||
| 個数 | 重さ | 付替え | 積込み | 旋回 | 合計 | 運搬 | 荷降ろし | 合計 | ||
| Ⅰ | (個) 72 |
(kg) 857 |
1′30″ | 12′5″ | 1′26″ | 15′47″ | 5′27″ | 3′12″ | 8′39″ | ( )内 は推定 値 |
| 9.5(%) | 81.4 | 9.1 | 100 | 63.0(%) | 37.0 | 100 | ||||
| Ⅱ | 105 | 1,153 | 1′30 | 13′07″ | 1′14″ | 15′51″ | (5′27″) | (4′40″) | (10′07″) | |
| 9.4(%) | 82.8 | 7.8 | 100 | (53.9)(%) | (46.1) | (100) | ||||
表3 作業能率(運搬時間は除く)
| No. | 1台当り 個数(個) |
こん包100個当り作業時間(h) | 能率(h) | 備考 | |||
| 積載 | 荷降ろし | 合計 | 乾草t当り | ha当り | |||
| Ⅰ | 72 | 0.263 | 0.053 | 0.316 | 0.369 | 1.79 | ①ワゴン3台の組作業 |
| Ⅱ | 105 | 0.251 | 0.078 | 0.329 | 0.285 | 1.45 | ②荷降ろしは7人の作業 |
11.今後の問題点
荷降ろし収納作業の省力体系化。
12.次年度の具体的計画
スローワの放出方向の検討。