【指導参考事項】
|
1 課題の分類 野菜 流通利用 予冷 2 研究課題名 夏野菜の流通技術改善試験 1 ホウレンソウ、ニンジンの品質保持における予冷条件に関する試験 (1)ホウレンソウの品質保持に関する試験 3 期 間 昭和57〜62年 継・中・完 4 担 当 中央農試園芸部加工料 5 予算区分 道 単 6 協力分担 な し |
7 目 的
夏期高温時に生産されるホウレンソウの品質保持をはかるための適正な温度条件および予冷方法を明らかにする。
8 試験研究方法
品種:サンシャイン 栽培法:標準による 容器:段ボール箱、発泡スチロール箱
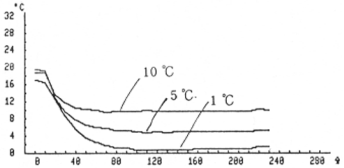
① 温度条件 -0.3、0、5、10、15、20、30℃ 1〜7日間
② 差圧予冷 風湿:1、5、10℃ 静圧:5、10mmAq 差圧フアン運転時間:30分、1時間、2時間 通気孔率:1%、1.5% 予冷後温度:1、5、10、20、30℃
③ 真空予冷 到達圧力:5、6、7、8、9、10トール 到達圧力保持時間:5、10、15、20分排気速度:3,000、1,800、1,500L/分
9 結果の概要、要約
(1)温度条件 温度が高いほど重量減少が大きく、黄化、腐敗が進んだ。温度別鮮度保持期間は、0、5、10℃:4日間以上、15℃:3日間、20℃:2日間であった。
(2)差圧予冷
①風湿は1℃が最適で、初温23℃のホウレンソウが50分で5℃、1時間30分で1℃になった。
②漂準的な差圧予冷条件は、風温1〜5℃、風湿90%以上、風量1箱当り0.11〜0.12m3/分、差圧ファン運転時間30分〜1時間、保冷温度0〜5℃が最適で10℃を上限とする。
(3)真空予冷
①初温20〜23℃のホウレンソウは、5〜8トールでは排気開始より10〜12分、9トールでは15分で5℃になった。10トールでは15分で6℃になった。ただし5トールでは凍結した。しおれ防止と冷却障害を回避するため到達圧力は9〜10トールが適当である。
②排気速度をおそくすると予冷後のしおれが少なくなる。終温は排気速度にかかわりなく到達圧力および到達圧力保持時間によって決まるので、排気速度は抑えたほうがよい。
③ホウレンソウの標準的な真空予冷条件は、到達圧力9トール、到達圧力保持時間5分、排気速度9トールに5分で到達すること、目標終温5〜10℃。
④収穫後ただちに予冷しなければならない。予冷開始までにしおれさせると、予冷によってしおれがさらに進行する。
⑤発泡スチロール容器は予冷後のしおれ防止に有効であった。1c㎡の排気孔を2個開ければ真空予冷に使用できる。
10 成果の具体的数字
表1 温度別重量減少率(%)
| 日数 | 温度(℃) | ||||
| 0 | 5 | 10 | 15 | 20 | |
| 1 | 3.8 | 4.0 | 4.5 | 5.4 | 4.7 |
| 2 | 4.7 | 5.3 | 5.7 | 8.8 | 8.7 |
| 3 | 5.7 | 6.0 | 7.1 | 11.4 | 12.0 |
| 4 | 6.2 | 6.7 | 8.3 | 14.0 | 15.5 |
| 5 | 7.3 | 7.1 | 9.5 | 16.7 | - |

図1 差圧予冷における風温と冷却速度(段ボール箱)
表2 終温、保冷温度と品質(差圧予冷)
| 包装 形態 |
終 温 (℃) |
予冷後 の目減 (%) |
保冷 温度 (℃) |
2日後 | 3日後 | |||||||
| 黄化 | 腐敗 | しおれ | 蘇生 | 目減り | 黄化 | 腐敗 | しおれ | 蘇生 | ||||
| ダ ン ボ ー ル |
1 | 2.5 | 5 | 4.9 | 4.9 | 4.5 | 4.9 | 2.7% | 5.0 | 4.9 | 4.6 | 4.7 |
| 10 | 4.8 | 4.9 | 4.9 | 5.0 | 4.1 | 4.3 | 4.2 | 4.6 | 4.9 | |||
| 15 | 4.7 | 4.9 | 4.6 | 5.0 | 4.2 | 3.5 | 4.0 | 4.9 | 4.8 | |||
| 20 | 4.1 | 4.2 | 5.0 | 4.9 | 5.3 | 2.7 | 3.7 | 4.4 | 4.6 | |||
| 5 | 2.6 | 5 | 5.0 | 5.0 | 4.0 | 5.0 | - | 4.9 | 4.8 | 4.7 | 5.0 | |
| 10 | 4.3 | 4.6 | 4.2 | 5.0 | 4.4 | 4.6 | 4.2 | 3.9 | 4.6 | |||
| 15 | 3.9 | 4.1 | 5.0 | 4.9 | 4.8 | 3.4 | 3.3 | 4.0 | 4.7 | |||
| 20 | 3.7 | 4.9 | 4.9 | 4.7 | 6.2 | 2.5 | 3.4 | 3.6 | 4.6 | |||
| 10 | 2.9 | 5 | 4.4 | 4.9 | 5.0 | 4.9 | 3.8 | 4.7 | 4.2 | 4.2 | 4.7 | |
| 10 | 3.9 | 3.9 | 3.8 | 4.3 | 4.7 | 3.9 | 3.8 | 3.7 | 4.2 | |||
| 15 | 3.7 | 4.1 | 4.8 | 4.3 | 5.8 | 3.4 | 3.2 | 3.7 | 4.3 | |||
| 20 | 3.1 | 3.7 | 5.0 | 4.1 | 6.4 | 2.5 | 3.8 | 3.2 | 3.8 | |||
| ス チ ロ ー ル |
1 | 2.2 | 5 | 5.0 | 5.0 | 5.0 | 5.0 | 2.7 | 5.0 | 4.4 | 5.0 | 5.0 |
| 10 | 4.6 | 4.2 | 5.0 | 5.0 | 3.0 | 4.8 | 4.8 | 4.6 | 5.0 | |||
| 15 | 4.8 | 4.4 | 5.0 | 5.0 | 2.2 | 4.0 | 4.4 | 5.0 | 5.0 | |||
| 20 | 3.8 | 4.4 | 5.0 | 5.0 | 4.7 | 2.8 | 3.6 | 4.8 | 5.0 | |||
| 5 | 2.5 | 5 | 5.0 | 4.8 | 5.0 | 5.0 | 3.1 | 4.6 | 4.0 | 4.0 | 5.0 | |
| 10 | 5.0 | 5.0 | 5.0 | 5.0 | 2.9 | 3.8 | 4.6 | 4.8 | 5.0 | |||
| 15 | 4.4 | 4.4 | 4.8 | 5.0 | 4.8 | 2.8 | 4.0 | 4.8 | 5.0 | |||
| 20 | 3.8 | 4.2 | 5.0 | 5.0 | 5.0 | 2.8 | 3.6 | 4.2 | 5.0 | |||
| 10 | 3.2 | 5 | 4.6 | 4.0 | 5.0 | 5.0 | 3.2 | 4.6 | 4.8 | 4.4 | 5.0 | |
| 10 | 4.8 | 4.6 | 5.0 | 5.0 | 3.6 | 4.6 | 4.6 | 4.6 | 5.0 | |||
| 15 | 4.0 | 4.6 | 5.0 | 5.0 | 5.6 | 2.4 | 3.4 | 3.6 | 4.0 | |||
| 20 | 3.8 | 3.6 | 4.6 | 5.0 | 6.4 | 2.0 | 3.2 | 3.4 | 3.0 | |||
11 今後の問題
①栽培条件と真空予冷適性の関係
②輸送中の昇温防止
12 普及指導上の注意事項
①物理的損傷をうけた葉は真空予冷によって障害をうけるので、収穫後の取扱い、選別に注意する。また、子葉や本葉第1、2葉は腐敗しやすいので完全に調整、除去する。
②予冷庫の運転状態を確認・記録し、障害がおきた場合に原因究明ができるようにすること。
③予冷条件が不適当なときは品質低下が生じるので、適正な条件を厳守する。