【普及奨励事項】
完了試験研究成績(作成 昭和60年1月)
|
1.課題の分類 野菜 野菜 土壌肥料−イチゴ 施肥改善 北海道 2.研究課題名 寒地におけるイチゴの施肥体系確立試験 3.予算区分 総合助成 4.研究期間 (昭和56年〜59年) 5.担 当 道立道南豊試 土壌肥料科 6.協力・分担関係 道立中央農試 土壌肥料第1科 |
7.目 的
イチゴの作型毎の養分吸収特性を明らかにし、それに基づいた肥培管理技術の体系化を図り、高収、高品質で安定生産を目指す。
8.試験研究方法
供試品種;宝交早生、盛岡16号。供試土壌;沖積土(褐色低地土−中粒質)、粗粒火山性土。
Ⅰ 育苗時の施肥管理(S56〜58年)
A普通苗;①施肥Nの利用特性−15N利用枠試験8処理、②NK用量試験−枠試験24処理、
③苗床の肥培管理法−ほ場試験、ANK用量−15処理、B施肥法−13拠理
B越冬子株;①施肥Nの利用特性−15N利用枠試験12処理、②苗床の施肥法試験−ほ場試験6処理
Ⅱ 露地ハウス栽培に対する施肥(S56年〜58年)
A無マルチ越冬露地栽培
①施肥Nの利用特性−15N利用枠試験12処理、②基肥量試験−枠試験16処理、③追肥時期試験−枠試験−10処理④施肥法試験−ほ場試験 褐色低地土中粒質20処理、灰色低地細粒質10処理
Bマルチ越冬ハウス栽培(粗粒火山性土−現地試験、夕張市沼の沢)
①施肥法試験−ほ場試験10処理。
Ⅲ 二季取栽培に対する施肥(S56〜59年、宝交早生のみ、ほ場試験、春取はハウス)
①基肥量試験−4処理、②追肥量試験−6処理、③施肥法試験−4処理。
9.結果の概要
Ⅰ 普通苗−無マルチ越冬露地栽培
①苗は育苗日数35日、苗乾物重6g/株(生草重35g)以上を目標とし、苗床は基肥を10a当たりP2O530kg、K2O6〜10kgを施用し、仮植後10日目にNのみ5kg(硝安)施肥が最も望ましい。
全量基肥する場合は、IB化成でN10kg、普通化成では沖積土でN6〜9kg、粗粒火山性土10kgとする。なお、苗床土壌は、仮植時〜10日目で無機態N6mg/100g前後、EC値0.3〜0.4mSとする。
②本ぽの施肥は、10a当たり基肥はN:P2O5:K2O各々10kg、(盛岡16号はN15kg、P2O510kg,K2O15kg)、翌年融雪直後にN5〜10kg(盛岡16号は5kg)、K2O10〜20kg(盛岡16号は5kg)、粗粒火山性土はN、K2O各々10kgを追肥してマルチする。
望ましい栄養生長量は、ベット巾90㎝2行植、株間30㎝の標準栽培で開花始のGI(草丈×葉数×腋芽数)値が2.5〜3.0×103、収穫終了時で2.0×104、乾物重90〜95g/株程度である。
Ⅱ 普通苗−マルチ越冬ハウス栽培
①育苗はⅠと同じ、②本ぽの施肥は10a当たり、基肥はN;P2O5;K2O各10kgとし、越冬前にマルチして、翌春出来るだけ早い時期にN,K2O各々10kgを追肥する。なお、濃度障害の恐れがない土壌では全量基肥しても良い、目標とする栄養生長量は、収穫終了時のGI値で3.0×104程度である。
Ⅲ 越冬子株−二季取栽培(宝交早生のみ)
①育苗は短日処理(日長8時間)終了時(6月処理で育苗期間300日)の苗乾重9g(生草重50g)、腋芽数2を目標とする。施肥は10a当たり、基肥はN10kg、P2O530kg、K2O10kgとし、翌春の融雪直後N・K2O各10kgを追肥する。
②本ぽの施肥は10a当たり、基肥量はN;P2O5;K2O各々10kg施用、マルチして定植する(秋取)・翌春にハウスをかけて、出来るだけ早い時期に追肥する。追肥量は流亡の少ない(残存N量が5mg以上)土壌ではN・K2O各々5kg、多い土壌(残存N量5mg以下)ではN、K2O10kgを施用する、目標とする栄養生長量は収穫終了時でGI値3.0×104程度である。
10.成果の具体的数字

第1図 上物収量と苗乾物量

第2図 植付時のEC値と苗乾物量

第3図 施肥量と収量、糖度及び不良果率

第4図 追肥時期と収量

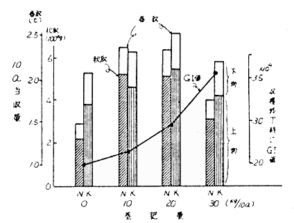
第5図 二季取栽培における基肥量と収量及びGI値
11.成果の活用面と留意点
1 本試験結果を「宝交早生」、「盛岡16号」の両品種についてCEC10me/100g以下は粗粒火山性土、10me/100g以上は沖積土壌の結果で適応できる。
2 適応する作型は、普通露地栽培、ハウス栽培、トンネル栽培、二季取栽培とする。
3 本試験は堆肥(イナウラ完熟堆肥)4t/10aを前提に、ハウスにおけるかん水は、かん水点pF2.2、10㎜かん水でした。
4 土壌診断に基づき、養分過剰蓄積(特にK2O蓄積)に留意する。
12.残された問題とその対応
①半休眠ハウス長期取栽培、②採苗ほの施肥法。