【指導参考事項】
重粘性土壌のオーチャドグラス主体草地における灌概による増収効果
北海道農業試験場農芸化学部重枯地研究室
目 的
オホーツク海沿岸の重粘性土壌地帯の牧草生産に対する灌概効果を明らかにし、当地域の牧草の高位安定生産の可能性を検討する。
試験研究方法
1)雄武及び紋別地域の気象及び土壌の特徴を灌漉との関連で検討し、牧草生産との関係を調査した。
2)灌水試験を以下のような設計で実施した。
(1)供試ほ場:雄武町拓成の標高約60mの段丘状の造成後10年を経過したオーチャドグラス主体の採草地(暗渠排水、砂客土施行済み)を用いた。
(2)試験処理:灌水処理4水準、施肥処理2水準とした。
灌水処理(0,2,5,8㎜/日)×施肥処理(化成肥料、スラリ+化成肥料)
a 灌水処理 1日当りの灌水量を、2,5及び8㎜とし、7日に1度灌水した。前7日間における降雨は、5mm/日以上の場合有効雨量とし、所定の灌水量(2mm/日区では14mm)から差し引いた。ただし8mm/日区は、3日及び4日毎に灌水した。灌水は小型スプリンクラ数個を配置して散水の均一性をはかった。
灌水実績(mm)
| 灌水処理 | 年次 | 54年 | 55年 | 56年 | 57年 | ||||||||
| 番草 | 1 | 2 | 3 | 1 | 2 | 3 | 1 | 2 | 3 | 1 | 2 | 3 | |
| 0(降水量) | 126 | 108 | 283 | 145 | 48 | 132 | 166 | 361 | 211 | 77 | 94 | 138 | |
| 2mm/日 | - | 56 | 17 | 65 | 84 | 28 | 34 | 14 | - | 43 | 44 | - | |
| 5mm/日 | - | 140 | 65 | 170 | 210 | 89 | 85 | 35 | - | 116 | 124 | - | |
| 8㎜/日 | - | 224 | 148 | 235 | 256 | 172 | 128 | 76 | - | 168 | 194 | - | |
| 肥料 | 化成肥料区 | スラリ区 | ||||
| N | P2O5 | K2O | N | P2O5 | K2O | |
| 化成肥料 | 4 | 8〜10 | 5〜8 | 4 | 8〜10 | 5〜8 |
| スラリ | 0 | 0 | 0 | 21〜24 | 7〜11 | 24〜34 |
結果の概要・要約
1)土壌の乾燥状態を表わす指標として、乾燥期間(当該期間の降水量が日数×1mmに満たない期間)について検討した。27年間の降水量の記録から、30日以上の乾燥期間は2年に1回発生するが、20日以上の乾燥期間が1回も生じない湿潤年も3年に1回の割合で現われた。
2)当地域の1番草の収量と降水量の関係をみると、降水量が約170mmの場合収量が最も高かった。
3)灌水によって土壌水分は湿潤に保たれたが、著しい乾燥期間には2mm/日灌水では土壌の乾燥を防ぐことはできなかった。また、湿潤期には、5〜8mm/日灌水区ではかなりの量の浸透損失が生じていると推定された。
4)牧草の収量に対する灌水効果は、著しい乾燥期には5〜8㎜/日の多量灌水区で増収率が高かった。湿潤期には2㎜/日灌水区が優り、多量灌水区は増収率が低下した。スラリ系列においては多肥条件のため増収したが、灌水による増収傾向は平均すれば化成肥料系列とほぼ同じであった。しかし、湿潤期の多量灌水による増収率の低下が化成肥料区よりも大きかった。
5)灌水によって、化成肥料区の白クローバは明らかに増加したが、スラリ区の白クローバは多肥条件のため、抑制された。また、跡地土壌のpHは多量灌水によって低下した。
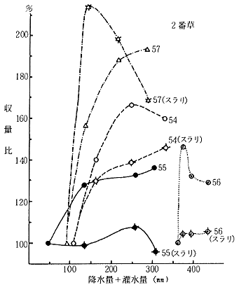
6)灌水量+降水量の合計量と収量との関係から、総降水量が1番草で約200mm、2番草で200〜250mm前後で収量が高く、それ以上では収量が低下する場合があった。
7)牧草の蒸発散量は、乾燥期には約3.5mm/日、湿潤期には約2㎜/日と推定され、2mm/日灌水区は、湿潤期においても過剰灌水とならず降雨を有効利用できたものと考えられる。
主要成果の具体的数字

第1図 牧草の年間収量に及ぼす灌水の効果

第2図 灌水がマメ科率に及ぼす影響
![]() |
![]() |
指導上の注意事項
1.オホーツク海沿岸の重粘土地帯を対象とする。
2.排水改良施行を前提とするとともに、有効土層の確保につとめる。
3.灌水に際しては過剰灌水をさける。
4.定期的土壌診断により、適切な肥培管理につとめる。