| 1.課題の分類 北海道 畑作 特用作物−Ⅱ-3 2.研究課題名 キバナオウギ(薬用植物)の栽培基準(キバナオウギの栽培法と品質に関する試験) 3.予算区分 道単(共同研究) 4.研究期間 (60〜63年) 5.担当 北海道立北見農業試験場 作物科、北海道立衛生研究所 薬学部生薬製薬科 6.協力・分担 |
7.目的
キバナオウギの生育特性の解明と栽培基準について検討する。
8.試験研究方法
(1)播種期試験 播種時期:4水準、1区9.6㎡、乱塊法3反復
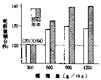
(2)播種量試験 10a当たり播種量300g,600g,900g,1200g、1区9.6㎡、乱塊法3反復
(3)収穫期試験 収穫時期:4水準、1区9.6㎡、乱塊法3反復
(4)施肥量試験 1区9.6㎡、乱塊法3反復
*窒素施用量試験 窒素施用量(kg/10a):0,1.5,3.0,4.5(燐酸:10、加里:6共通)
*燐酸施用量試験 燐酸施用量(kg/10a):0,5,10,15(窒素:3、加里:6共通)
*加里施用量試験 加里施用量(kg/10a):0,3,6,9(窒素:3、燐酸:10共通)
9.結果の概要・要約
(1)播種期
播種時期が5月中旬以降になると、茎葉重が減少し、収穫時の根の長さや太さが劣り、根重が減少した。
(2)播種量
播種量が多くなると、単位面積当たりの株数は明らかに多くなるが、根の長さは年次により傾向が若干異なるが短くなり、太さも細くなった。根重は多くなったが、10a当たり900gと1200g播種間では大差がなかった。根の成分は増加する傾向であった。
(3)収穫時期
10月下旬に収穫すると、根の長さは他の時期より長く、根の太さは9月中旬に比べると若干太いが、その他の時期とは大差がなかった。茎葉重は他の時期より減少し、根重はもっとも高い値を示した。根の成分は明らかに増加した。
(4)施肥量
キバナオウギの窒素に対する反応は小さいが、窒素施用により茎葉重が増し、根重が多くなった。しかし、施用量が増すと根重が減少した。燐酸の施肥反応は大きく、燐酸施用により、茎葉重は著しい増加を示し、根重も同じような傾向で増加したが、施肥量間では大差がみられなかった。根の成分は、燐酸施用量の増加に伴って明らかに多くなった。しかし、施用量が15kg/10aになると減少する成分がみられた。加里の施肥反応は小さく、無施用栽培でも収穫時の草丈や根の太さなど施用のそれらと大差がなかった。根重は、加里施用により若干増収したが、多用すると減少した。加里は、三要素の中で吸収量が最も多く10a当たり最大吸収量は19kgあり、そのうちの87%を茎葉が占めた。
(5)以上の結果に基づき栽培基準を設定した(表1)。
10.成果の具体的数字
![]() |
![]() |
|||
| 図1 播種期別乾根重 | 図2 播種量別乾根重 | |||
![]() |
||||
| 図3 収穫時期別乾根重 | ||||
![]() |
![]() |
![]() |
||
| 図4-1 窒素施用量別乾根重 | 図4-2 燐酸施用量別乾根重 | 図4-3 加里施用量別乾根重 | ||
![]() |
||||
| 図4-4 燐酸施用量別成分含有割合 | ||||
| 播 種 | 適期は5月上旬とする。 |
| 播種量 播種法 |
10a当たり600〜900g、畦幅60cmで条播し、1cm程度の覆土、鎮圧を行う。 |
| 施肥量 | 施肥要素は10a当たり、窒素1.5〜3.0kg、燐酸5〜10kg、加里3〜6kg作条施用する。 |
| 収 穫 | 10月下旬を目途に地上部を除去、根部を収穫する。その後水洗いし乾燥、調整する。 |
| その他 | 深根性植物で種子が小さいため耕起、砕土、整地に注意する。 |
11.成果の活用面と留意点
(1)深根性作物であり、かつ種子が小さいため耕起、砕土、整地に注意する。
(2)整一な発芽をさせるため鎮圧を行う。
(3)初期除草に注意する。
12.残された問題と留意点
(1)病害虫防除の検討 (2)除草体系の検討 (3)輪作体系の検討