【指導参考事項】
| 家畜し尿ポンプに関する試験 北海道立農業試験場農機具試験室 |
Ⅰ 総論
1. 試験目的
家畜し尿の肥効については既に一般的な認識を得ながら、農村労力の不足と利用方法の機械化がおくれていたことなどにより、有効適切に利用されなかったが、最近普及段階を迎えるに至った。
市販ポンプの性能を調査研究しその利用価値経済効果を究明し、一般的普及資料を得るとともに、この調査を通じて本道酪農発展に寄与することを目的とする。
2. 試験月日
[昭和36年度] 昭和36年10月15日
[昭和37年度] 昭和37年10月18、19、20日
3. 試験場所
[昭36] 札幌市厚別町上野幌 株式会社 宇都宮牧場
[昭37] 札幌市 農林省北海道農業試験場畜産部
4. 供試機 (アイウエオ順)
| ポンプ銘柄 | 型式 | 吸吐口径 | 回転数 (r.p.m) |
全揚程 (m) |
吐出量 (m3/㎜) |
外径寸法 長×巾×高 |
重量 (㎏) |
製作者名 | 試験 年度 |
| 共立自吸式うず巻 | CPI~200 | 38㎜ (1Ⅰ/2吋) |
3,600 | 30 | 0.20 | 520×480×580 | 18.5 | 共立農機㈱ | 昭37 |
| 日立ポインター | HIAFⅡ | 38㎜ (1Ⅰ/2吋) |
3,440 | 20 | 0.20 | 380×310×460 | 30.0 | 新明和工業㈱ | 昭36 昭37 |
| ヒドロ | 510 | 38㎜ (1Ⅰ/2吋) |
3,800 | 36 | 0.32 | 210×350 | 10.5 | ㈱中央機器製作 | 昭36 |
| 丸山クライス | 2型 | 38㎜ (1Ⅰ/2吋) |
3,600 | 35 | 0.24 | 302×176×367 | 8.6 | ㈱丸山製作所 | 昭37 |
| モノフレツクス | FPM-1Ⅰ/2B | 38㎜ (1Ⅰ/2吋) |
1,450 | 29 | 0.20 | 230×140×180 | 7.5 | 日本機械計製㈱ | 昭36 昭37 |
5. 附属設備
| 使用 電動機 銘柄 |
出力 (KW) |
軸動力 伝達法 |
プーリー径(㎜) | サクション ホース |
ホース | 製作者名 | |
| ポンプ (㎜φ) |
電動機 (㎜) |
||||||
| 三菱 | 2.2 | VB ベルト |
98.3 120.0 |
318.3 | 包線ホース 38φ 3.0m |
ポリエチレン 38φ |
三菱電気㈱ |
| 日立 | 2.2 | VB ベルト |
101.6 | 304.8 | 包線ホース 38φ 4.5m |
ポリエチレン 38φ 270m |
㈱日立製作所 |
| 東芝 | 2.2 | VB ベルト |
57.1 | 152.4 | 包線ホース 38φ 4.5m |
ポリエチレン 38φ 270m |
東京芝浦電気㈱ |
| 東芝 | 2.2 | VB ベルト |
76.2 | 228.6 | 包線ホース 38φ 3.0m |
塩化ビニール 38φ |
東京芝浦電気㈱ |
| 安川 | 2.2 | 直結 | - | - | プレードイン 塩化ホース 38φ 4.5m |
ポリエチレン 38φ 270m |
㈱安川電機製作所 |
6. 試験方法
(1) 電圧、電流、使用電力量
アンメーター、ボルトメーター、積算電力計によりそれぞれ測定した。
(2) 水圧
ポンプ吐水部において水圧計で試験開始後および所定時間にそれぞれ測定した。
(3) モーターおよびポンプの回転数
ハスラー回転計により、試験開始後および所定時間にそれぞれ測定した。
(4) 送水量
ホース吐水口にドラム缶(180L)を設置し、満水になる時間をタイムスイッチで計測し、毎分当り、日時当りの送水量を測定した。
(5) 噴射の距離
ノズル尖端と霧散した尿の落下地点の距離を巻尺で計測した。
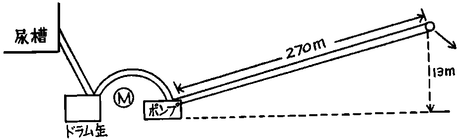
(6) 揚程
標高差13mの沢を利用し、その圧送能力の可否を送水量で測定した。
(7) し尿濃度
[昭36]
し尿濃度は比重(上澄1.0~1.3)であり、落葉その他の夾雑物は含まれていなかった。
測定時のストレーナは撒布試験には1㎝角の金網による特製ストレーナを尿槽に投入し、その中にサクションホースのみを入れた。噴射試験には各メーカー専用ストレーナーを使用した。圧送試験にはストレーナを一切用いなかった。
[昭37]
し尿濃度は、比重、上澄1.0程度であり、その尿槽内に夾雑物を投入した。夾雑物の内牛糞混入時は、比重1.02固形物の重量割合は1.5%であった。
測定時のストレーナは、夾雑物混入試験時には一切使用せず撒布。
噴射試験時のみ、籐籠を使用した。
(8) 夾雑物混入
牛舎、牛体の洗浄水に敷藁、飼料、牛糞が混入する場合を想定し、し尿槽に人為的に各夾雑物を所定量投入し、試験を行った。
(9) 分解操作調査
清掃点検の難易を調査する目的で、各社作業員1名で分解調査を公開実験した。
7. 試験区分
(1) 撒布試験[昭36.37]
3HPのモートルを利用し各供試機がそれぞれ、同時に尿溜にサクションホースを投入し、(汲上揚程56~230㎝)ポンプアップを行い、平地270mをポリエチレンホース(径38㎜)で圧送し、末端から吐出せしめる。
(2) 噴射試験[昭36.37]
①の試験ホース尖端に旭フンムノズルを接続パイプにより接着し風速1.8m/sec(昭36)3.5~4.0m/sec(昭37)の状況下に風下に向い噴射し、その噴射距離を測定する。
(3) 圧送試験(昭36)
標高差13mの沢にいったん尿を落してポンプ位置から270m先に尿を圧送し送水量を測定する。圧送用ホース1本(270m)に供試機を順次とりつけ行う。
(4) 夾雑物混入試験(昭37)
No.1尿槽((縦)1.5m×(横)1.5m×(深さ)1.12m尿量2.52m3)内に夾雑物(敷藁)5.0㎏を投入し、3HPのモータを利用し、各供試機のサクションホースをし尿表面より、30㎝の箇所に固定し、吹出側ホースを反対側の尿槽壁に取付、循環試験を行った。
No.2、No.1試験の尿槽より、夾雑物(敷藁)2.5㎏を取上げ、残り2.5㎏にてNo.1と同様な試験を行った。
No.3及びNo.4、No.1試験の尿槽に夾雑物(飼料)5.0㎏、10.0㎏を投入し、No.1と同様な試験を行った。
No.5尿槽((縦)1.5m×(横)1.5m×(深さ)0.51m尿量1,147m3)内に夾雑物(牛糞)5.0㎏を投入し、No.1同様3HPモータにて循環試験を行った。
Ⅱ 試験成績
1. 試験成績
第1表 撒布試験成績
| 試 験 年 度 |
ポンプ銘柄 | 測定時刻 | ポンプ 回転数 (rpm) |
送水圧 (㎏/㎝2) |
電動機 回転数 (rpm) |
送水量 (L/分) |
電圧 (V) |
電流 (A) |
毎時 所要 電力量 (KWH) |
1KWH 当送水量 (L) |
| 昭 36 |
日立ポインター | 運転開始直後 | 3,700 | - | 1,410 | 202 | 11.0 | |||
| 10分後 | 3,680 | - | 1,410 | 202 | 10.8 | |||||
| 20分後 | 3,690 | - | 1,420 | - | - | |||||
| 30分後 | 3,700 | - | 1,410 | 200 | 9.8 | |||||
| 平均 | 3,693 | 1,412 | 163.1 | 201 | 10.5 | 3.4 | 2,878 | |||
| ヒドロ | 運転開始直後 | 3,950 | 3.2 | 1,430 | 202 | 11.0 | ||||
| 10分後 | 3,950 | 3.2 | 1,430 | 202 | 9.4 | |||||
| 20分後 | 3,920 | 3.2 | 1,430 | - | - | |||||
| 30分後 | 3,960 | 3.2 | 1,440 | 200 | 9.2 | |||||
| 平均 | 3,945 | 3.2 | 1,432 | 160.1 | 201 | 9.9 | 3.2 | 3,013 | ||
| モノフレツクス | 運転開始直後 | 1,390 | 2.0 | 1,390 | 202 | 5.8 | ||||
| 10分後 | 1,450 | 2.0 | 1,450 | 202 | 5.4 | |||||
| 20分後 | 1,450 | 2.0 | 1,450 | - | - | |||||
| 30分後 | 1,420 | 2.0 | 1,420 | 200 | 5.5 | |||||
| 平均 | 1,428 | 2.0 | 1,427 | 140.8 | 201 | 5.6 | 1.6 | 5, 280 | ||
| 昭 37 |
共立自吸式うず巻 | 運転開始直後 | 4,200 | 3.7 | 1,300 | 200 | 18.0 | |||
| 5分後 | 4,150 | 140.3 | 200 | 15.3 | 4.60 | 1,829 | ||||
| 丸山クライス | 運転開始直後 | 4,500 | 3.1 | 1,440 | 200 | 10.8 | ||||
| 5分後 | 122.7 | 200 | 10.4 | 2.40 | 3,068.8 |
第2表 噴射試験成績
| 試 験 年 度 |
ポンプ銘柄 | 測定時刻 | ポンプ 回転数 (rpm) |
圧力 (㎏/㎝2) |
電動機 回転数 (rpm) |
噴射距離 (m) |
電圧 (V) |
電流 (A) |
風速 (m/sec) |
| 昭 36 |
日立ポインター | 運転開始直後 | 3,800 | - | 1,450 | 210 | 9.0 | 1.8 | |
| 10分後 | 3,760 | 3.6 | 1,460 | 212 | 8.4 | ||||
| 平均 | 3,780 | 3.6 | 1,455 | 17.6 | 211 | 8.7 | |||
| ヒドロ | 運転開始直後 | - | - | - | 202 | 8.0 | |||
| 10分後 | 4,020 | 3.5 | 1,440 | 202 | 8.0 | ||||
| 平均 | 4,020 | 3.6 | 1,440 | 20.7 | 202 | 8.0 | |||
| モノフレツクス | 運転開始直後 | 1,450 | 2.8 | 1,450 | 202 | 6.0 | 3.5~4.0 | ||
| 10分後 | 1,450 | 2.8 | 1,450 | 208 | 6.0 | ||||
| 平均 | 1,450 | 2.8 | 1,450 | 19.3 | 205 | 6.0 | |||
| 昭 37 |
共立自吸式うず巻 | 運転開始直後 | 4,200 | 4.1 | 1,300 | 210 | 14.1 | ||
| 5分後 | 4,150 | 25.0 | |||||||
| 丸山クライス | 運転開始直後 | 4,500 | 3.6 | 1,440 | |||||
| 5分後 | 4,400 | 22.5 | 210 | 10.0 |
第3表 圧送試験成績
| ポンプ銘柄 | 測定時刻 | ポンプ 回転数 (rpm) |
圧力 (㎏/㎝2) |
電動機 回転数 (rpm) |
送水量 (L/分im) |
電圧 (V) |
電流 (A) |
| 日立ポインター | 運転開始直後 | 3,730 | 3.4 | 1,430 | 198 | 9.8 | |
| 10分後 | 3,720 | 3.4 | 1,430 | 199 | 9.6 | ||
| 平均 | 3,725 | 3.4 | 1,430 | 135.8 | 199 | 9.7 | |
| ヒドロ | 運転開始直後 | 4,000 | 3.4 | 1,440 | 202 | 9.2 | |
| 10分後 | 4,020 | 3.4 | 1,440 | 203 | 8.8 | ||
| 平均 | 4,010 | 3.4 | 1,440 | 135.5 | 202 | 9.0 | |
| モノフレツクス | 運転開始直後 | 1,450 | 2.6 | 1,430 | 207 | 6.0 | |
| 10分後 | 1,460 | 2.7 | 1,460 | 207 | 6.0 | ||
| 平均 | 1,455 | 2.65 | 1,455 | 115.9 | 207 | 6.0 |
第4表 夾雑物混入試験成績(敷藁5㎏)
| ポンプ銘柄 | 運転可能時間 | ポンプ 回転数 (rpm) |
電動機 回転数 (rpm) |
電圧 (V) |
電流 (A) |
所要 電力量 (KWH) |
| 共立動力うず巻 | 1分30秒 | 3,450 | 1,300 | 220 | 7.8 | 2.25 |
| 8.0 | ||||||
| 7.9 | ||||||
| 7.9 | ||||||
| 日立ポインター | 9分30秒 | 3,500 | 1,440 | |||
| 丸山クライス | 26分50秒 | 4,400 | 1,420 | 220 | 10.2 | 2.80 |
| 9.9 | ||||||
| 10.1 | ||||||
| 8.0 | ||||||
| モノフレツクス | 5分40秒 | 1,450 | 1,450 |
第5表 夾雑物混入試験成績(2.5㎏敷藁)
| ポンプ銘柄 | 運転可能時間 | ポンプ 回転数 (rpm) |
電動機 回転数 (rpm) |
電圧 (V) |
電流 (A) |
所要 電力量 (KWH) |
| 共立動力うず巻 | 6分50秒 | 3,450 | 1,300 | 8.1 | 2.5 | |
| 7.9 | ||||||
| 日立ポインター | 10分00秒 | 3,500 | 1,440 | 2.5 | ||
| 丸山クライス | 10分00秒 | 4,400 | 1,420 | 8.6 | 2 | |
| 7.9 | ||||||
| モノフレツクス | 9分00秒 | 1,450 | 1,450 | 1.0 |
第6表 夾雑物混入試験成績(飼料5㎏)
| ポンプ銘柄 | 運転可能時間 | ポンプ 回転数 (rpm) |
電動機 回転数 (rpm) |
電圧 (V) |
電流 (A) |
所要 電力量 (KWH) |
| 共立動力うず巻 | 45分00秒 | 3,450 | 1,300 | 8.3 | 3.0 | |
| 日立ポインター | 33分00秒 | 3,500 | 1,440 | 3.0 | ||
| 丸山クライス | 30分00秒 | 4,400 | 1,420 | 9.2 | 3.2 | |
| 9.4 | ||||||
| 9.2 | ||||||
| 9.5 | ||||||
| モノフレツクス | 27分30秒 | 1,450 | 1,450 | 1.2 |
第7表 夾雑物混入試験成績(飼料10㎏)
| ポンプ銘柄 | 運転可能時間 | ポンプ 回転数 (rpm) |
電動機 回転数 (rpm) |
電圧 (V) |
電流 (A) |
所要 電力量 (KWH) |
| 丸山クライス | 14分20秒 | 4,400 | 1,420 | 9.8 | 2.8 |
第8表 夾雑物混入試験成績(牛糞60㎏)
| ポンプ銘柄 | 運転可能時間 | ポンプ 回転数 (rpm) |
電動機 回転数 (rpm) |
電圧 (V) |
電流 (A) |
所要 電力量 (KWH) |
| 共立動力うず巻 | 35分00秒 | 3,450 | 1,300 | 220 | 8.5 | |
| 6.4 | ||||||
| 日立ポインター | 35分00秒 | 3,500 | 1,440 | |||
| 丸山クライス | 4分45秒 | 4,400 | 1,420 | 9.5 | 3.0 | |
| 11.4 | ||||||
| モノフレツクス | 45分00秒 | 1,450 | 1,450 |
第9表 分解操作調査
| 試 験 年 度 |
ポンプ銘柄 | 分解所要時間 | 分解箇所 | 必要工具 |
| 昭 36 |
日立ポインター | 5分30秒 | アジヤストレンチ1、 T型ボックス1、平レ ンチ2、カップリング レンチ1 |
|
| ヒドロ | 1分10秒 | モンキースパナ1、 平スパナ3、木ハン マー1 |
||
| モノフレツクス | 5分70秒 | ドライバー、モンキー レンチ、ロングノズ ル、プライヤー |
||
| 昭 37 |
共立自吸式うず巻 | 1分30秒 | ボルト 6本 | 両口スパナ |
| 日立ポインター | 2分30秒 | ボルト 12本 スピンナーどめ 2本 |
両口スパナまたは ボックスレンチ |
|
| 丸山クライス | 2分30秒 | ボルト 8本 | 両口スパナ、ボック スレンチ |
|
| モノフレツクス | 2分00秒 | ボルト 4本 | ドライバー、モンキー レンチ |
2. 所見
(1) 所要電力量
原動機として3HPモートルを使用することに規定したのであるが、機種によっては2HPのモートルで運転しても今回とほぼ同じ性能を発揮でき得るものと考えられる。
しかし、ある機種においてはポンプの回転数を標準回転に比し約7%ほど増大させたためか、やや負荷の大きなものも見受けられた。
夾雑物混入試験のばあいは、おおむね3HPモートルでの運転に耐え得た。
(2) ポンプの回転数
夾雑物除去のために極端にポンプの回転数を上げた場合には、当然ポンプの耐用年数を縮減するものと考えられる。
(3) 夾雑物混入について
(イ) 敷藁についてみると、ほとんどのポンプがサクシヨンホースに詰まり、吐出を不可能にしたようである。多少の敷藁をポンプ内に吸引する結果となっている。
(ロ) 飼料(サイレージ)についてみるに、2~3㎝程度に切断されているため、サクションホース内に詰まり、少量のものは、ポンプ内を通過し、ポンプ吐出口に出て来ていた。ポンプ内羽根車に切断されて吐出するものと思われる。いずれの場合にあってもポンプ型式によって差異が出てくるようである。
(ハ) 牛糞混入についてみると、牛糞の混入割合は、固形物1.5%であったが、沈殿物が相当量あったように見受けられ、それ等を同時に吸引したことによるポンプ内の詰まりになったと考えられる。
ポンプ分解調査の結果は、相当量の牛糞を見ることができた。
(4) 取扱いの難易
機体の重量は7.5㎏~30㎏であるから、その移動運搬には2名にて容易に持ち運びが可能である。
夾雑物がポンプに詰まった場合のポンプの掃除も5~6分間(なれれば2~3分間)あれば分解可能である。各機種ともホース接続部からし尿のもれることもなく、その着脱も容易であった。ただホースの移動については、その労力を軽減せしめる方法を考慮すべきであると思う。
ポンプの始動前には呼び水を必要とする機種もあるが、完全自吸式であれば、最初の呼び水あるいは再度の呼び水を注入する手間と時間が省略される。
3. 取扱上の注意
(1) ポンプの据付位置
し尿槽の位置、作業の便(モートルを使用する場合は、電源の関係も考慮)を考慮し、雨麗にあたらない位置(あるいは施設をする)を選ぶこと。他の作業(家畜の給飼作業、搾乳作業など)や通行(飼料や牛乳の運搬など)の支障となる場所は避けること。
(2) ポンプと原動機の据付
レベルト伝導の場合は原動機のプーリーとポンプのプーリーとの中心が一致するようにし、ベルトの張りに注意すること。このばあいスライデイングベースを使用すると便利である。原動機と直結運転を行うばあいは、両者の心出しを充分に行う必要がある。
なおいずれのばあいも、原動機、ポンプの取付ボルトは完全に床盤に締めつける必要がある。
(3) ポンプと原動機の点検
始動前にはポンプ、原動機の各部を充分点検し、必要部門に注油するはもちろん、ボルトやナットの締めつけ加減、割ピン、キーなどの脱落の有無、ベルトの張り加減を点検し、もし不備な点を発見したならば、どんな些細な部分であっても完全に整備すること。
ポンプの回転数は仕様書に記載のとおりとすること。
原動機として水冷式エンジンを使用する場合は湯を使用すれば始動が容易である。マグネットが露出しているエンジンのばあいは、マグネットにビニール布などで覆をして、マグネットを水湿から保護すること。
モートルを使用するばあいは、配線、アンメーター、スイッチ、ヒュースなどを点検し漏電などの危険のないように充分注意すること。
(4) ポンプの始動
始動にあたり呼び水を必要とするばあいは、完全な呼び水を行い、運転開始後に再び呼び水を行うことのないよう注意する。
モートルを使用するばあいは、スイッチの操作を確実に行い、ナイフスイッチの焼損をしないようにする。また水湿で手が濡れ易いから感電しないように注意する。
(5) ポンプの性能
ホースの長さを270mとしたばあいの撒布量については前記試験成績のとおりであるが、これ以上の長距離または短距離のばあいについては、およその撒布量を調査しておく必要がある。
ホースの長さ90m、450mのばあいなど、あるいは傾斜地(上り勾配、下り勾配)における撒布量を、ドラム缶などを利用して簡単な調査でよいから、おおよその見当をつけておくこと。また目測により撒布量の見当をつける練習をしておくこと。
(6) し尿槽
し尿槽はできるだけ浄化、沈殿槽を設け、雨水、土砂、落葉、敷わら、飼料などの夾雑物がし尿に混入しないように心掛けること。
(7) し尿の濃度と温度
濃厚なし尿を撒布することは土壌、作物にとり、かえって有害であるから、撒布の時期、畑の状態などによって、し尿の濃度を薄めて使用すること。また撒布に際しては懸濁物を攪拌し、サクションホースの先端にはストレーナーを取付けることが望ましい。し尿の温度は5~70℃が適温であって、水結温度および高温で使用すると、ポンプのインペラーの寿命を短縮させるおそれがある。
(8) ホースの配置と布設
ホースはポンプと撒布場所との最短距離をとって直線的に配管することが望ましく、途中で渦を巻いたり蛇行させたりすると、それだけポンプに負荷がかかり撒布量の減少をきたす。またホースの接続部(ジョイント、カップリング)から、し尿が洩れないように接続は完全にすること。
(9) ホースの移動
ホースの接続部をはずして移動するばあいは、土砂が接続金具に付着したり、ホース内に入るおそれがある。接続金具に蓋をしたり、布などで覆いをしてから移動することが望ましい。
(10) 撒布作業
風の方向を考慮して、し尿が衣服、身体に掛らないように注意するのはもちろん、同一箇所へ再び撒布したり、撒布洩れの場所がないよう、畑の地形やホース移動の便否を考え作業計画をたてること。
撒布にあたっては、つとめて均一に撒布するように心掛けること。
(11) 撒布作業中の原動機、ポンプ
原動機、ポンプに対し規定時間毎に注油(グリースカップなど)を行うのはもちろん、機械の音響、過熱(とくに軸受メタル)の状態に注意し、もし異状を認めたならば、直ちに運転を中止し、充分に点検整備を行うこと。
(12) 機械の手入れと保存
撒布作業終了後は清水によって少なくとも1~2分間運転し、ホース、ポンプ、ノズルなどを洗浄する。洗浄後はポンプからホース類を取り外し、水湿を充分切る。ホースの接続金具など錆びやすい部分には油を塗って、錆び止めをする。ホースは内部に塵埃などが入らないように接続部に覆をして太い輪に巻き、直射日光の当らない場所に保存する。
原動機、ポンプは始動前の点検に準じて、よく点検整備しておく。
原動機、ポンプを屋外に臨時に据付けたばあいは、水湿のあたらない乾燥する納屋や倉庫の中に保存する。モートルを使用したばあいは、取りはずした動力線から漏電しないように処置すること。原動機、ポンプが専用の小屋の中に設けてあるばあいは、雨路が掛らないようにし、小屋の戸締りを完全にすること。
(13) ポンプの今後の在り方について
牛舎、牛体の洗浄水に、敷藁や飼料の牛糞の混入する場合を想定して試験を合わせ行ったのであるが、今後これ等の夾雑物混入があっても、ストレーナーなしで充分な機能を発揮し得るポンプの出現が望ましい。しかし、現状では供試5機種にあっては、沈殿槽の設置等によりし尿槽の純度を高めることが、先決の感がある。
噴射、圧送試験結果から見て、ポンプ閉止圧は3.5~4.0㎏/㎝2が必要と考える。
Ⅲ 経済比較
1. 経済効果算定に当っての設定事項
成牛20頭ていどの酪農経営を標準にして、この経営における牛の尿を肥料換算した。
舎飼する9月~4月(約8ヵ月間)までに牛1頭から尿槽に貯蔵される排泄物は尿の敷わらへの吸収、蒸発を考えても牛房牛体の洗浄水があるので、1頭当り約20石と推定される。この成分構成を尿1に対して洗浄水2の割合と仮定すると、20頭分では約72,000Lとなるから、そのうち尿は24,000㎏となる。比重を1とすると、この尿の重量は24,000㎏となる。
牛尿の成分分析によると、水分は92.0%、窒素0.8%、カリ1.4%とされているので肥料分は
窒素は、24,000㎏×0.8%=192㎏
硫安の窒素分を21%、硫安の価格40㎏を830円とすれば
窒素1㎏の単価は830/40×0.21≒97.60円
従って窒素分の金額は97.60×192=18,739円…(A)
加里は24,000㎏×1.4%=336㎏
塩化カリ(K20)のカリ分を60%、塩化カリの価格40㎏を780円とすれば
加里1㎏の単価は780/40×0.6=32.50円
従ってカリ分の金額は
32.50×336=109,200…(B)
(A)+(B)=127,939円
この他、尿撒布による土壌改良効果も大きいが、この測定は一応除外して考えることにした。
「注」経済効果の算定に当っての設定事項

A点を尿槽とし、ホース長さの270mの円を画きこの内接円の周囲を圃場面積とすと、
540×540=291,600㎡≒29ha
ここで飼育する成牛を採草地1haにつき1頭として約20頭の飼育は可能と考えられる。従って、この試算の酪農経営は経営面積約30ha、農耕適地20ha、飼育家畜成牛(搾牛)20頭とした。
2. 人力による場合
1の設定事項に基づいて家畜し尿を有効に利用するために人間(1人)が「こえたご」2荷によって搬送すると、次のようになる。
A 20頭の尿の総重=72,000L…(400石)
B 「こえたご」による1回の運搬量=27L×2=54L
C 運搬キョリ=270m
D 運搬回数=A/B=72,000/54=1,334回
E 歩く総所要時間…歩行速度…実測により次のように策定した。
(270m)
往路 4分22秒(262秒)
復路 4分26秒(266秒)
計 8分48秒(528秒)
=1334回×528秒=704352秒=11739分≒196時間
F 汲込撒布に要する総所要時間
汲込に要する時間…1回(54L)1分23秒(83秒)
撒布に要する総時間…ひしゃくで撒布
1分42秒(102秒)
計 3分0.5秒(18.5秒)
185秒×1334回=246790秒=4113分≒69時間
G 総所要時間=E+F=265時間
ただしこの試算では休憩時間、疲労による能率低下は考慮に入れていない。しかも1日実労働8時間とすれば実に33日間となり、実際にはこの就労で計画は非現実的であるが、一応それを無視して試算してみた。
総経費=(1時間当りの労賃×総所要時間)
労賃を1日1人800円として1時間100円と推定し=100円×265=26,500円
3. タンク車(馬で牽引)による場合
1.の設定事項に基づいてこの尿をタンク車(馬で牽引)で搬送すると次のようになる。
A 20頭の尿の総量=72,000L
B タンク車による1回の運搬量=540L
C 運搬キョリ 270m
D 運搬回数=A/B=72,000/540≒134回
E 歩く所要時間 歩行速度0.5m/秒として270mでは540秒
=134回×540秒=72360秒=1206分=20時間
F 汲込時間(撒布は歩行時間中に無造作にできるので省略)
汲込時間、タンク車に満載するのに1回1人、汲上げに手押ポンプを利用して20分54秒(1254秒)
1254秒×134回=168,036秒≒2800分≒47時間
G 所要時間=E+F=67時間
ただしこの試算では休憩時間、給飼時間、および疲労による能率低下は考慮に入れていない。また運搬キョリは馬車の場合は道路条件を無視して直線に進行可能な状態を想定した。
総経費=1時間当りの労賃×総所要時間
(100円×67時間)+(375円×67時間)=31,825円
ただし馬車は償却費を含めたチャーター料が1日3,000円、従って1時間375円とした。
4. 供試機(家畜し尿ポンプ)による場合
1.の設定に基づいて、次の家畜し尿ポンプで圧送撒布した場合これを2.の人力、3.の馬力によるものと対比すると次のようになる。
注1、算定方法
1. 減価償却
耐用年数 ポンプ、電動機附属品10年、ホース6年
残存価格 0
方法 定額法
2. 金利 年利率5.5% 単利計算
3. 固定資産税
一応本試算から除外した。
4. 電力料金 5円/KWH
5. 維持費
帳簿原価の年5%、ただしモノフレックスポンプについてはこの他のエンペラー(5,500)を2年に1回交換するので2,750円を維持費に加算した。
6. 収入 尿の肥料換算した金額
7. 使用電力量
当該試験の結果から各供試機の使用電力量を算定した。
日立ポインターポンプ 1KWH当り処理量2,878L
720,000L÷2,878=250KWH
ヒドロポンプ 1KWH当り処理量3,013L
720,000L÷3,013=239KWH
モノフレックスポンプ 1KWH当り処理量5,280L
720,000L÷5,280=136KWH
共立自吸うず巻 1KWH当り処理量1,829L
720,000L÷1,829=394KWH
丸山クライス 1KWH当り処理量3,068L
720,000L÷3,068=235KWH
8. 労力費
① 各ポンプの毎分処理量および全貯蔵物の処理に要する総時間は次のとおりである。
日立ポインター 163.1L
処理に要する時間 7.4時間≒8時間
ヒドロポンプ 160.7L
処理に要する時間 7.5時間≒8時間
モノフレックス 140.8L
処理に要する時間 8.5時間≒9時間
共立 140.3L
処理に要する時間 8.5時間≒9時間
丸山 122.7L
処理に要する時間 9.8時間≒10時間
② ホースの施設、撤去およびポンプ分解清掃の所要時間は3時間とした。
③ 従って労賃は1時間100円としてそれぞれ処理時間を乗じた。
(1) 所要施設費
| 撒布方法\項目 | 施設費 | 所要 馬力 |
使用 電力量 |
|||
| ポンプ 吸水ホース(4.5m) ストレーナー 接手、パツキング ポンプ側レプーリー 分解工具含む |
ホースジョイント金具 | 電動機側 プーリー レベルト |
合計 | |||
| (パイプ長さ270m) | ||||||
| 日立ポインターポンプ | 41,000 | 53,250 | 2,000 | 96,250 | 3 | 250 |
| ヒドロ | 34,400 | 58,200 51,000 |
1,600 | 94,200 | 3 | 239 |
| モノフレックス | 33,200 | 51,000 | 1,600 | 85,800 | 3 | 136 |
| 丸山クライス | 23,800 | 54,000 | 1,600 | 79,400 | 3 | 235 |
| 共立自吸式うず巻 | 29,600 (吸水3m) |
49,600 | 1,120 | 80,320 | 3 | 394 |
| タンク車 | - | - | - | - | - | - |
| 人力 | - | - | - | - | - | - |
(2) 所要経費
| 経費 | 合計 | |||||||||||||||
| 固定費 | 運転費 | |||||||||||||||
| 減価償却費 | 金利 | 計 | 計 | 電力 料金 |
維持費 | 労賃 | 計 | |||||||||
| ポ ン プ |
ホ | ス |
そ の 他 |
計 | ポ ン プ |
ホ | ス |
そ の 他 |
ポ ン プ |
ホ | ス |
計 | |||||||
| 日立ポイン ターポンプ |
4,100 | 8,870 | 200 | 13,175 | 1,240 | 1,708 | 61 | 3,009 | 16,184 | 1,250 | 2,050 | 2,663 | 4,713 | 1,100 | 7,063 | 23,247 |
| ヒドロ | 3,440 | 9,700 | 160 | 13,300 | 1,041 | 1,867 | 48 | 2,956 | 16,256 | 1,195 | 1,720 | 2,910 | 4,630 | 1,100 | 6,925 | 23,181 |
| モノフレックス | 3,320 | 8,500 | 160 | 11,980 | 1,004 | 1,636 | 48 | 2,688 | 14,668 | 680 | 4,410 | 2,550 | 6,960 | 1,200 | 8,840 | 23,508 |
| 丸山クライス | 8,380 | 9,000 | 160 | 11,540 | 720 | 1,733 | 48 | 2,501 | 14,041 | 1,175 | 1,190 | 2,700 | 3,890 | 1,300 | 6,365 | 20,406 |
| 共立自吸式 うず巻 |
2,960 | 8,267 | 112 | 11,339 | 895 | 1,592 | 33 | 2,520 | 13,859 | 1,970 | 1,480 | 2,480 | 3,960 | 1,200 | 7,130 | 20,989 |
| タンク車 | 31,825 | 31,825 | 31,825 | |||||||||||||
| 人力 | 26,500 | 26,500 | 26,500 | |||||||||||||
5. 結語
今回の試験結果を基とし、試験設定事項の圧送キョリ270mを勘案し、成牛20頭収容の畜舎のし尿処理を機械化した場合の経済効果を試算した結果次の通りである。家畜し尿を肥料換算すれば127,939円の価値があるのでこれをもっとも原始的な人力(こえたご2荷)で搬送すれば、33日間かかり、この仮定は非現実的であるけれども一応その単純計算による所要労賃を差引いて101,439円の肥料量が軽減できることになる。
また馬力で牽引するタンク車による場合は、通常行われる方法であるが、この場合供試ポンプ附属のホースを布設した直線を馬車が往復できるという最短キョリを想定して96,114円の利益を得ることができる。
| 肥料換算量-経費 | 得失 | |
| 未利用 | △127,939 | |
| 人力 | 127,939-26,500 | 101,439 |
| 馬力(タン車) | 127,939-31,825 | 96,114 |
| 日立ポインターポンプ | 127,939-23,247 | 104,692 |
| ヒドロポンプ | 127,939-23,181 | 104,758 |
| モノフレックス | 127,939-23,508 | 104,431 |
| 丸山クライス | 127,939-20,406 | 107,533 |
| 共立自吸式うず巻 | 127,939-20,989 | 106,950 |
この場合人力、馬力は全く機械的に能力を算出したので現実にはこの利益は低下しよう。
供試ポンプを利用した場合試験設定の圧送はもちろん、更にノズル利用によって噴射したり、他の人力では利用が不可能な傾斜地での利用も可能で前者に比べると処理能力ははるかにすぐれているが、他の方法がやや機械的に計算されたことに加えてホースの価格が高いことと、耐用年数が短期であることによって経済計算上は、さほどの差は出なかった。