【指導参考事項】
| (2) てん菜移植機 |
Ⅰ 試験目的
てん菜の紙筒移植栽培は、一部農家が採用して効果を発揮しつつあるが、省力機械化作業体系を確立するため優良な移植機の開発が要望されていた。
最近試作された2畦用ビート移植機は、この要望に答え得るものと思われるので、その作業能率と作業制度について試験を実施した。なお本試験は試験期日がビート移植を実施する時期でなく圃場に霜柱が立つ11月初旬であるために、移植機使用後の栽培試験は実施していない。また十勝支場の火山性、砂壌土の圃場で実験しただけで、その他の土壌で試験していない。
Ⅱ 試験条件
1. 試験期日 昭和37年11月7日
2. 試験場所 北海道立農業試験場十勝支場
3. 供試紙筒 日甜式ペーパーポット

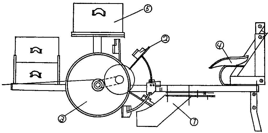
第1図 ビートトランスプランター略図
1. 成畦器
2. ホルダー
3. 鎮圧駆動輪
4. シート
5. 苗箱
4. 供試紙筒に対する填充土壌 火山性砂壌土
5. 供試紙筒内土壌の含水量 34.3%
6. 圃場の土壌 火山性砂壌土 土壌含水量 31%
7. 天候 晴天
Ⅲ 供試機
1. 供試機の名称 日甜式2畦用ビート移植機(供試トラクターシバウラS17)
2. 構造(第1図)
15PS級の小型トラクターの後部三点油圧装置によって支持され、2畦用であり、畦中60㎝に適するが、55㎝にも調節し得る。成畦器によって開講されな間隙に、苗挟み(ホルダー)によって挟まれた紙筒が回転降下し、放たれると同時に土壌が鎮圧駆動輪によって両側より苗を支持定着させるように設計されている。ホルダーに対する苗挟みは人力によっておこなう。作業員はトラクターの進行方向と逆に座りホルダー上部に設けられた苗箱から苗をつまんでホルダーに挟む。ホルダーは鎮圧駆動輪によって駆動される。なお予備の苗箱を有する。作業員は運転手を除き2名である。
3. 諸元
全長 190㎝
全巾 118㎝
全高 103㎝
乾燥重量 150㎏
成畦器高さ 35㎝
成畦器巾 3.5㎝
駆動輪直径 50㎝
駆動輪巾 15㎝
ホルダー数 8ヶ
苗箱収容本数 300本
Ⅳ 試験方法
1. 試験区総面積 0.4ヘクタール
2. 試験区数 4区
3. 試験区の内容
第1表
| 試験区 | 耕耘整地用作業機の種類と作用深度 | 土塊分布 | 土壌表面 の状態 |
|||
| 深さ (㎝) |
15m/m以上 (%) |
15~5m/m (%) |
5m/m以下 (%) |
|||
| DS区 | 14"×2プラウ、デイスクハロー、スパイクハロー 耕深18㎝ |
0~10 | 4.9 | 14.7 | 81.4 | 不整 |
| 10~20 | 10.4 | 18.5 | 71.1 | |||
| R1区 | 14"×2プラウ、ロータリーハロー 耕深18㎝、作用深15㎝、2速 |
0~10 | 2.2 | 5.2 | 92.6 | 平滑密 |
| 10~20 | 5.3 | 13.4 | 81.3 | |||
| R2区 | 14"×2プラウ、ロータリーハロー 耕深18㎝、作用深10㎝、2速 |
0~10 | 2.8 | 6.8 | 90.4 | 平滑 |
| 10~20 | 6.2 | 14.8 | 79.0 | |||
| R3区 | 14"×2プラウ、ロータリーハロー 耕深18㎝、作用深5㎝、3速 |
0~10 | 3.1 | 7.5 | 89.4 | 平滑粗 |
| 10~20 | 6.2 | 15.3 | 78.4 | |||
4. 作業方法
イ 供試トラクターシバウラS-17の轍間距離を120㎝ホイールウエイトは装着しない。
ロ 移植機の移植畦巾は60㎝とし作業員2名が座乗する。作業員の装備重量は145㎏である。
ハ 作業速度は作業員の苗の手送り速度によって決定した。
5. 作業精度試験の方法
イ 移植個体間隔
20個体内外の間隔を実測した。
ロ 移植状態
移植後に畦の方向と平行に土壌断面を露出させて紙筒の埋没度、傾斜度、紙筒の屈節度を肉眼にて判定した。
ハ 作業前後の圃場表面形状
水平に張られた糸と表面との間隔を5㎝ごとに測定して、図示した。
6. 作業能率
実作業の内容を分析して、計算した。
7. 牽引トラクターの適応度
トラクターの後輪のスリップの状態を測定して、スリップ率より判定した。
Ⅴ 試験結果
1. 移植間隔
右側 平均23.7㎝土(1.9)
左側 平均25.3㎝土(1.4)
土壌の膨軟度や圃場の平坦度のちがいにより、移植機の動輪のスリップ率に多少の変化がおこり、移植間隔に変動がおこる。しかし、この程度の間隔の変動は実用上支障がないのみならず、この程度の作業精度は慣行の移植法(人力)や播種間引法ではのぞみ得ないものと考えられる。
2. 移植状態
第2表
| 試験区 | 紙筒の傾斜程度(%) | 紙筒の屈折程度(%) | ||||||
| 垂直 | 僅少 | 少 | やや大 | なし | 僅少 | 少 | やや大 | |
| DS区 | 29.4 | 35.0 | 17.8 | 17.8 | 72.0 | 21.0 | 7.0 | 0 |
| R1区 | 28.0 | 24.0 | 24.0 | 24.0 | 64.0 | 24.0 | 12.0 | 0 |
| R2区 | 30.0 | 44.0 | 23.0 | 3.0 | 60.0 | 20.0 | 20.0 | 0 |
| R3区 | 32.5 | 30.0 | 25.0 | 12.5 | 55.0 | 12.5 | 12.5 | 10 |

5°位までの傾斜はほとんど垂直に移植されたものと変らない生育をしめすものと思われる。やや大の5°~10°の傾斜は、多少の影響をあたえるのであろうが実用的には、10°以上の傾斜が発生した場合に不正常根の発生がみられるものと考えられる。その意味では、供試機は、整地条件の異なった4つの場合とも10°以上の傾斜を生じた場合はなかった。したがっていずれの場合にも実用の範囲に入るものと考えられる。
とくにR2区(プラウ耕後ロータリーハローを2速10㎝作業した区)のごとく適当な砕土整地をおこなった区においては垂直傾斜僅少のものが多い。R1区のごとく極端に整地され単粒状になり過膨軟になった場合は、やや傾斜の程度が強い。
紙筒の屈折程度もやや大なる屈折をしているものはない。ただし、R3区のごとく表面だけをロータリーハローで整地5㎝以下の部分は、プラウ耕のままの大塊が存在するような状態では約10%の屈折程度やや大のものがあらわれている。このことからある程度良好な整地を実施しておくことが屈折を多くする原因になることがわかり、したがってロータリーハロー2速作用深70㎝くらいが適当と思われる。また、デスクハロースパイクハロー区も屈折程度が少なく表現されているが、壌土もしくは埴壌土地帯で、デスクハロースパイクハローだけの整地をおこなった場合、土塊の混在程度は、R3区なみになると考えられるからロータリーハローによって整地をすることが好ましいと思われる。
作業前後の圃場形状は第4図にしめすごとくである。第4図No.1図はDS区、第4図No.2図はR1区のそれであり、圃場の作業前形状平坦度はR1区がきわめてよく、したがって作業後の紙筒周辺の形状は均一的である。しかるにDS区に比してR1区が極端に膨軟であるために、トラクター車輪の轍が大きくつく、紙筒の両側を足る鎮圧車輪はオープナーと独立していないから、その場合紙筒周辺の土壌の鎮圧量が少ない。この意味においても紙筒移植をおこなう場合の移植床形成のためには、極端に砕土膨軟化をはかるよりも、多少粗い方がよい。もしもR1区のごとく過膨軟な場合はカルチパツカー等をかけて、全体的に鎮圧しておいた方がよいものと思われる。
またオープナーは土壌を両側におしつけて走り、紙筒周辺には膨軟な壌が自然落下し、鎮圧車輪がこれを踏圧してゆくが、踏圧の度が少なければ、紙筒の周辺の土壌の空隙量が大きすぎて、その部分の土壌の乾燥が早く、したがって紙筒内の水分量が土壌に吸収されることが考えられる。したがって作業するにあたっては、鎮圧輪の働きに充分注意するとともに乾燥期には、作業をさけるように心がけることが必要である。
第4図
3. 能率試験
第3表に、トラクター(15馬力)で作業をしたときの能率をしめした。作業能率は補助作業人(苗はさみ人)の苗はさみ能率にかかっている。慣れてくると0.2m/sec以上となり、作業能率は、10a/時間となる。トラクターは、常時25%ぐらいのスリップがあり、この原因は主として、トラクター車輪の土中沈下にある。加えて成畦器が、土中に深く、作用するため、不耕層にあたった場合、牽引は15馬力のトラクターでは、無理となる。したがって充分な作業を期待するなら30馬力級のトラクターが、必要となる。また、作業機の苗はさみ(ホルダー)を回転せしめるのに、鎮圧輪から動力を伝導しているが、苗に対する鎮圧はとくに重要な要素となるから、機械とは別に、自由加重(スプリングにて一定の加重を加える)にすることが必要である。また、本試験に、この鎮圧駆動輪のスリップ率が30%の値をしめしていることから、ホルダーの駆動法について一考を要する。
第3表
| 試験区(整地条件)\項目 | 作業 速度 (m/sec) |
作業機 スリップ (%) |
作業巾 (m) |
補助 作業員 (人) |
ロスタイム (sec/10a) |
作業 能率 (a/時) |
投下労 働時間 (時/10a) |
移植 スタンド (本/10a) |
|
| 苗供給 時間 |
回行 時間 |
||||||||
| デスク+スパイク区 | 0.15 | -30 | 1.2 | 2 | 100 | 115 | 6.2 | 4.8 | 6,700 |
| デスク+スパイク区作条区 | 0.13 | -31 | 1.2 | 2 | 100 | 115 | 5.5 | 5.4 | 6,610 |
| ロータリーハロー区砕度上 | 0.17 | -32 | 1.2 | 2 | 100 | 115 | 7.1 | 4.2 | 6,520 |
| ロータリーハロー区砕度中 | 0.18 | -28 | 1.2 | 2 | 100 | 115 | 7.4 | 4.2 | 7,000 |
| ロータリーハロー区砕度下 | 0.19 | -30 | 1.2 | 2 | 100 | 115 | 7.6 | 3.9 | 6,700 |
第4表 ビート移植の人力区機械区労働比較(時/10a)
| 苗取 | 運搬苗選 | 畦立施肥 | 苗補充 | 定植 | 合計 | 備考 | |
| 人力移植 | 0.3 | 1.4 | 1.8 | 2.6 | 6.0~12.0 | 12.1~18.1 | 運転手 1名 作業者 2名 |
| 機械移植 | 0.3 | 1.4 | 0.3 | 0.3 | (1.0×3)3.0 | 5.3 |