餌料給餌試験について
日本海沿岸では、「磯焼け」が一般的に見られ、春の海藻の繁茂時期を除いて、海藻を餌料とするウニ・アワビなどの夏以降の餌不足が大きな問題となっています。
ウニ・アワビの増殖のため、各地で人工種苗の放流も行われていますが、放流した漁場の餌料の環境が放流成績に大きく影響しています。
天然漁場の餌料の不足を補うため、コンブなどを沖合いで育成し給餌する方法が、これまで各地でいろいろ試みられてきています。後志支庁管内古平漁協では浅海部会が天然漁場のウニ・アワビの餌不足を補うため、毎年沖合いで餌料用コンブを育成し、翌春から土俵にコンブの養成網を取り付け、天然漁場に投入する方法で給餌を行っています。土俵詰め、投入の作業は部会全員で行いますが労務負担が大きく頻繁に給餌できないのが現状です。
ウニ・アワビの増殖のため、各地で人工種苗の放流も行われていますが、放流した漁場の餌料の環境が放流成績に大きく影響しています。
天然漁場の餌料の不足を補うため、コンブなどを沖合いで育成し給餌する方法が、これまで各地でいろいろ試みられてきています。後志支庁管内古平漁協では浅海部会が天然漁場のウニ・アワビの餌不足を補うため、毎年沖合いで餌料用コンブを育成し、翌春から土俵にコンブの養成網を取り付け、天然漁場に投入する方法で給餌を行っています。土俵詰め、投入の作業は部会全員で行いますが労務負担が大きく頻繁に給餌できないのが現状です。
古平町群来地区の禁漁区に試験区を設け、中央水産試験場水産業専門技術員と後志北部地区水産指導所とが共同で新しい給餌方法を試験しましたので紹介します。
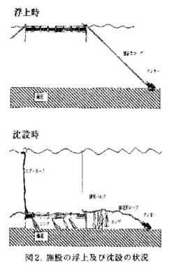
漁業者の高齢化もあり、労力をなるべく使わず効率的に給餌できる一方法として、昨年西島牧でアワビ養殖に用いた浮沈式養殖施設の方法を取り入れ、浮沈式の給餌施設を開発しました。施設は図1に示すように、縦4メートル×横4メートル×高さ0.8メートルの鉄枠に、塩ビのフロートを取り付けました。このフロートに水面から空気を注入できるようにウレタン製のエアーホースを接続し、エアーホースの端に浮玉を付け、水面まで伸ばしました。図2に示すように、船上からこのエアーホースに潜水用の空気タンクを接続して空気を注入し、海底に設置した施設を簡単に浮上させることができます。反対に排気バルブを開き、フロートの空気を排出することで施設を沈下できるようにしました。古平港で鉄材を組み立て、フロートに空気を満たして浮上させたまま、群来地区の試験区まで、船外機船で海上を曳航しました。鉄枠の周囲に取り付けたフックと固定用のアンカーロープにそれぞれ沖合いで育成したコンブの養成網を取り付け、水深5メートルの試験区に施設を沈下させました。平成6年5月から9月まで、沖合いのコンブ育成施設からコンブ養成網を運び、3回の給餌を行いました。給餌したコンブには毎回ウニ・アワビの食痕がみられ、9月にはこの施設周辺にアワビの蝿集もみられました。
この浮沈式の餌料給餌試験から(1)施設の沈設・移動が船外機船で簡単に行えること、(2)施設を浮上させることで、船上からコンブの養成網の取り替えができ、潜水作業を必要としない、など給餌作業の省力化が図られる成果が得られました。
施設費は、30万円程度ですが、作業性や経費の削減などについてさらに検討していく考えです。(中央水試専門技術員 武田 榮)
漁業者の高齢化もあり、労力をなるべく使わず効率的に給餌できる一方法として、昨年西島牧でアワビ養殖に用いた浮沈式養殖施設の方法を取り入れ、浮沈式の給餌施設を開発しました。施設は図1に示すように、縦4メートル×横4メートル×高さ0.8メートルの鉄枠に、塩ビのフロートを取り付けました。このフロートに水面から空気を注入できるようにウレタン製のエアーホースを接続し、エアーホースの端に浮玉を付け、水面まで伸ばしました。図2に示すように、船上からこのエアーホースに潜水用の空気タンクを接続して空気を注入し、海底に設置した施設を簡単に浮上させることができます。反対に排気バルブを開き、フロートの空気を排出することで施設を沈下できるようにしました。古平港で鉄材を組み立て、フロートに空気を満たして浮上させたまま、群来地区の試験区まで、船外機船で海上を曳航しました。鉄枠の周囲に取り付けたフックと固定用のアンカーロープにそれぞれ沖合いで育成したコンブの養成網を取り付け、水深5メートルの試験区に施設を沈下させました。平成6年5月から9月まで、沖合いのコンブ育成施設からコンブ養成網を運び、3回の給餌を行いました。給餌したコンブには毎回ウニ・アワビの食痕がみられ、9月にはこの施設周辺にアワビの蝿集もみられました。
この浮沈式の餌料給餌試験から(1)施設の沈設・移動が船外機船で簡単に行えること、(2)施設を浮上させることで、船上からコンブの養成網の取り替えができ、潜水作業を必要としない、など給餌作業の省力化が図られる成果が得られました。
施設費は、30万円程度ですが、作業性や経費の削減などについてさらに検討していく考えです。(中央水試専門技術員 武田 榮)
