エゾバフンウニ中間育成試験について
  エゾバフンウニ人工種苗放流事業のより良い効果を得るため、北海道ウニ栽培漁業議会が発足し、全道各地でいろいろな取り組みがなされています。
中央水産試験場専技室では、ウニの大量中間育成、冬期の餌料の開発、給餌方法の改良などウニ中間育成の一連の効率の向上を図る試験を、後志北部水産指導所また小樽市漁協塩谷地区の浅海部会の皆さんと協力して行っていますので、紹介します。
 
中央水産試験場専技室では、ウニの大量中間育成、冬期の餌料の開発、給餌方法の改良などウニ中間育成の一連の効率の向上を図る試験を、後志北部水産指導所また小樽市漁協塩谷地区の浅海部会の皆さんと協力して行っていますので、紹介します。
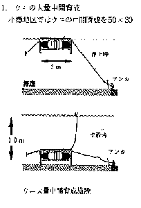
1.ウニの大量中間育成

平成6年は高水温のため中間育成篭内での斃死が約4割にまで達しました。この斃死を低減すること、また中間育成の管理労力を削減することを目的に、海底設置式の中間育成施設(タテ2.0xヨコ1.5メートル)を開発しました。篭式よりも海底に設置しているため、振られがすくないこと、また水深10メートルに設置するため・日中の温度上昇も少ないと考えられます。この施設は通常は海底に設置しておき、給餌等の施設の管理が必要なときには、浮上させて管理する浮沈装置を取り付けました。6月15日から栽培公社産のウニ種苗を用いて中間育成を開始しました。ほぼ2週間おきに施設を浮上させてコンブ、人工餌料などを給餌しました。8月中旬まで篭で行っている中間育成と同様に良好な成長を示していましたが、後志管内では斑点症が発生し、翌年4月までの中間育成の予定を急きょ中止し、天然漁場に放流しました。
2.冬期の餌料の開発

- 解凍後も冷凍コンブなどよりも溶けづらいこと、
 - 製品を作る際に一度溶解するため、この時点でタンパクなどの栄養できること、
 - 製品を乾燥しておけば常温の保存が可能なこと、
 - 細長い形状なので、ウニに対する餌の当たりが良く、給餌の効率が良いこと
 
3.給餌方法の検討
  日本海沿岸では冬期間の時化のため、中間育成、養殖などの給餌回数がどうしても制限されます。冬期でも継続して給餌できるように、小樽市塩港近辺の水深3メートルの地点に養殖施設を設置し陸上から簡便に給餌できる方法を試験しています。
 
大量中間育成試験に用いた施設を使用して、給餌用の直径5センチメートルのホースを施設に取り付け、そのホースを陸上まで伸ばし、そのホースから海水と一緒に餌を育成施設に送り込む構造としました。越冬して中間育成する予定であったウニの代わりにアワビをこの施設に収容して給餌試験を行っています。餌には人工飼料、海そ一めんなどを試験しています。大量に餌を送り込むとホースに詰まるなどのトラブルが起きていますが、春までこの給餌装置の改良を重ねて、実用化の目途をつける予定です。(中央水産試験場 水産業専門技術員)
 
 大量中間育成試験に用いた施設を使用して、給餌用の直径5センチメートルのホースを施設に取り付け、そのホースを陸上まで伸ばし、そのホースから海水と一緒に餌を育成施設に送り込む構造としました。越冬して中間育成する予定であったウニの代わりにアワビをこの施設に収容して給餌試験を行っています。餌には人工飼料、海そ一めんなどを試験しています。大量に餌を送り込むとホースに詰まるなどのトラブルが起きていますが、春までこの給餌装置の改良を重ねて、実用化の目途をつける予定です。(中央水産試験場 水産業専門技術員)
